EasyManua.ls Logo

Autronica Autro Safe BS-310 - Overview - Cable Connections

Autronica Autro Safe BS-310
64 pages
Print Icon
To Next Page IconTo Next Page
To Next Page IconTo Next Page
To Previous Page IconTo Previous Page
To Previous Page IconTo Previous Page
Loading...
Installation Handbook, AutroSafe Interactive Fire Alarm System, Release 3, 116-P-ASAFE-FA/DE,
Rev. J, 2011-12-06,
Autronica Fire and Security AS
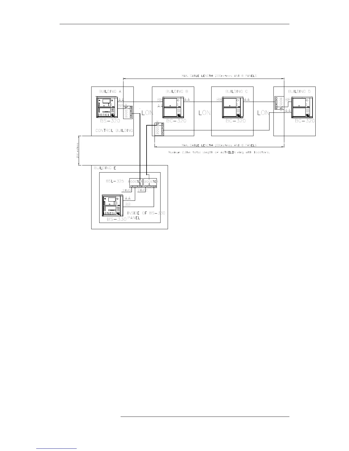
4.3 Overview - Cable Connections

Table of Contents

Related product manuals