EasyManua.ls Logo

Bukh D4 - Page 26

Bukh D4
141 pages
Print Icon
To Next Page IconTo Next Page
To Next Page IconTo Next Page
To Previous Page IconTo Previous Page
To Previous Page IconTo Previous Page
Loading...
Restore Default View
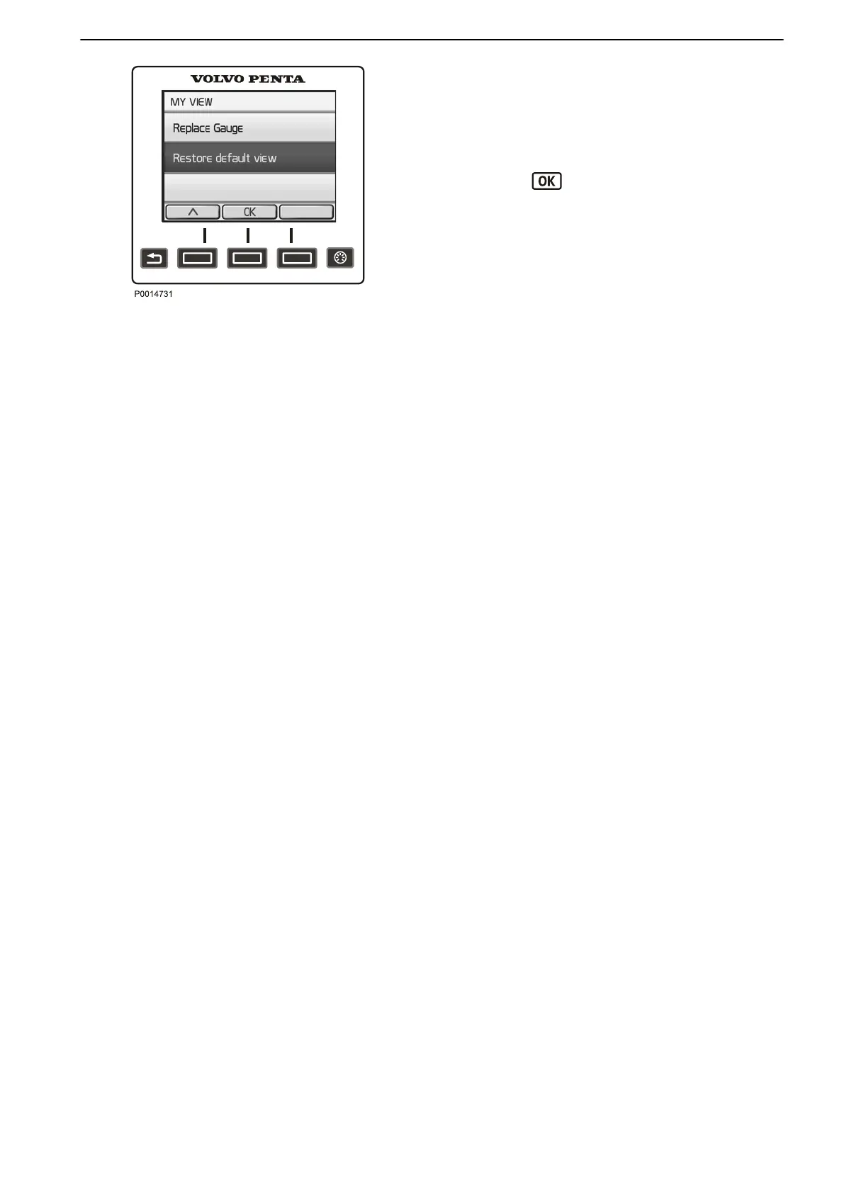
To revert to the basic display settings, navigate to
Restore Default View.
1 Press
the Menu button and select Restore Default
View.
2
Press the
button.
Restore Default View
Instruments and Controls
47708085 11-2016 © Bukh 27

Table of Contents

Related product manuals