EasyManua.ls Logo

Case 590ST - Page 103

Case 590ST
434 pages
Print Icon
To Next Page IconTo Next Page
To Next Page IconTo Next Page
To Previous Page IconTo Previous Page
To Previous Page IconTo Previous Page
Loading...
3-CONTROLSANDINSTRUMENTS
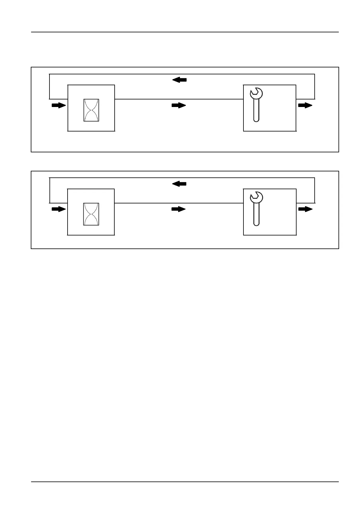
Displayfunction
Whenthehourmeterreachesthelightserviceinterval.
MAINSCREEN3Seconds
LIGHT
800.3500
AMBER
Whenthehourmeterreachestheheavyserviceinterval
MAINSCREEN3Seconds
HEAVY
800.310003seconds
3-41

Table of Contents

Other manuals for Case 590ST

Related product manuals