EasyManua.ls Logo

Daewoo DE12T - Valve Clearance Adjust Procedure

Daewoo DE12T
188 pages
Print Icon
To Next Page IconTo Next Page
To Next Page IconTo Next Page
To Previous Page IconTo Previous Page
To Previous Page IconTo Previous Page
Loading...
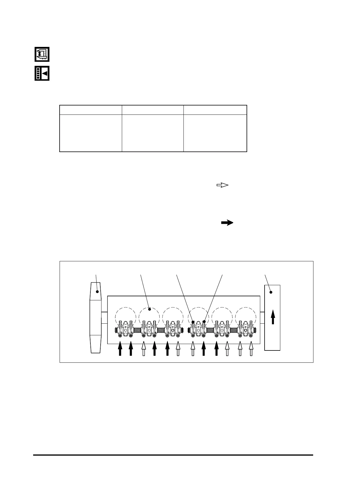
2.11.
Valve Clearance Adjust Procedure
After letting the #1 cylinders piston come at the compression top dead center by turning the
crankshaft, adjust the valve clearances.
Loosen the lock nuts of rocker arm adjusting screws and push the feeler gauge of specified
value between a rocker arm and a valve stem and adjust the clearance with adjusting screw
respectively and then tighten with the lock nut.
As for the valve clearance, adjust it when in cold, as follow.
1) Rotate the crankshaft to overlap the intake and the exhaust valves of #6, then #1 cylinder
become the compression state of top dead center.
2) Therefore adjust the valve clearance corresponding to ““ of lower figure.
At this time there are no force on the push rods of #1 cylinder.
3) Rotating the crankshaft by one revolution, #6 cylinder become the compression state of top
dead center.
4) Thereafter adjust the valve clearances corresponding to ““ of lower figure.
5) After reinsuring the valve clearances, retighten if necessary.
No. 1 Cylinder is located at the side where flywheel was installed.
- 30 -
TECHNICAL INFORMATION
Model Intake Valve Exhaust Valve
DE12T
DE12TI
0.3 mm 0.3 mm
DE12TIA
DE12TIS
123456
EA8O6001
Cooling Fan Cylinder No. Exhaust Valve Intake Valve Flywheel

Table of Contents

Related product manuals