EasyManua.ls Logo

Daewoo DE12T - Flywheel; Magnetic Pick-Up Sensor

Daewoo DE12T
188 pages
Print Icon
To Next Page IconTo Next Page
To Next Page IconTo Next Page
To Previous Page IconTo Previous Page
To Previous Page IconTo Previous Page
Loading...
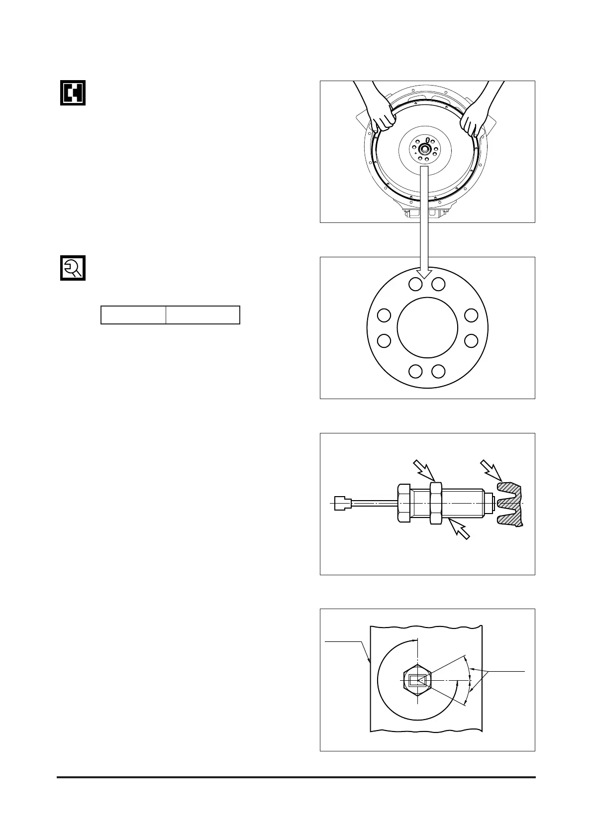
3.3.8. Flywheel
Install a guide bar into a bolt hole on
the crank shaft, and lift the flywheel to
align the dowel pin with the pin hole
on the flywheel for temporary assem-
bly operation.
Install bolts in the remaining holes,
take out the guide bar, then install a
bolt in the hole where the guide bar
had been inserted.
Tighten the fixing bolts using a torque
wrench in a diagonal sequence to
specified torque.
3.3.9. Magnetic pick-up sensor
Move the lock nut to hexagonal side of
sensor completely.
Rotate (Clcokwise) the pick-up sensor
on flywheel housing, until the end of it
reach on fly wheel ring gear.
Then rotate (Counter clockwise) the
pick-up sensor for 270˚ (gap 1.0 mm)
and fix lock nut.
Tolerance limit is 27˚ (gap L 0.1 mm)
- 80 -
REASSEMBLY
EAMD081I
EAMD097I
4 8
7
6
2
1
5
3
EPM2030I
Rock nut Ring gear
M16 x 1.5
270
27
27
Flywheel
Housing
EPM2031I
Tolerance
limit
Torque 18 kg
.
m

Table of Contents

Related product manuals