EasyManua.ls Logo

DCS Su-27 Flanker - Flight Control System (FCS)

DCS Su-27 Flanker
143 pages
Print Icon
To Next Page IconTo Next Page
To Next Page IconTo Next Page
To Previous Page IconTo Previous Page
To Previous Page IconTo Previous Page
Loading...
DCS
[SU-27]
SU-27 IMPLEMENTATION
SU-27 IMPLEMENTATION
Flight Control System (FCS)
The Su-27 is controlled by a combination of mechanical and fly-by-wire sub-systems. The longitudinal
control is maintained by the synchronous deflection of stabilizers and lateral control is maintained by
the differential deflection of flaperons, stabilizers, and rudders. Directional control is maintained by
the deflection of rudders.
The mechanical control system is intended for differential deflection of flaperons as part of the lateral
control system; synchronous deflection of flaperons during takeoff and landing; rudder deflection
during pedal movement; and artificial flight control loading and trimming.
The fly-by-wire system is intended for manual control of the aircraft via longitudinal and lateral
channels to provide desired stability and control qualities; to limit angle-of-attack and g load; to
control wing leading edges; and for synchronous control of flaperons during maneuvering.
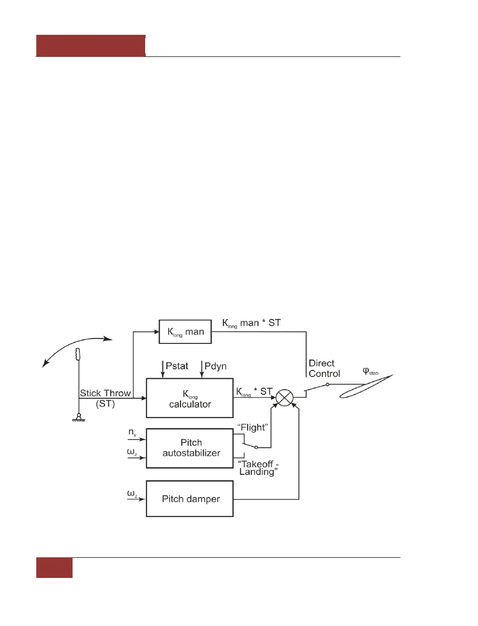
Longitudinal Channel
In order to improve maneuvering performance, the Su-27 has a low degree of pitch stability, which
resulted in the necessity of using the fly-by-wire system for augmenting control stability of the
aircraft.
Figure 86: Longitudinal channel stabilizer control schematic block diagram

Table of Contents