EasyManua.ls Logo

DCS Su-27 Flanker - Directional Channel Control

DCS Su-27 Flanker
143 pages
Print Icon
To Next Page IconTo Next Page
To Next Page IconTo Next Page
To Previous Page IconTo Previous Page
To Previous Page IconTo Previous Page
Loading...
[SU-27]
DCS
Eagle Dynamics
115
Directional Channel
Directional yaw control is performed by symmetrical deflection of the rudders. Transmission of inputs
from pedals to the rudders is conducted by means of a mechanical linkage. Additionally, yaw sub-
channel servo units of the fly-by-wire system are mechanically connected to the rudders with half-
travel authority.
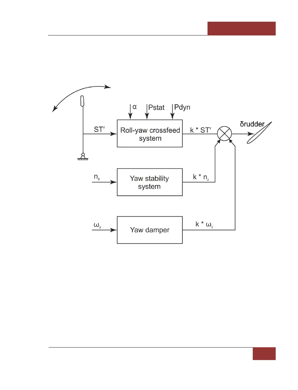
Figure 91: Directional channel rudder control schematic block diagram
The yaw sub-channel of the fly-by-wire system includes the following automatic devices:
Roll-Yaw crossfeed system operates in accordance with side stick inputs. It deflects the rudders
to the same side as the control stick. This eliminates adverse sideslip caused by the difference in drag
by half-wings. It also improves a lateral controllability, especially at high angles of attack.

Table of Contents