EasyManua.ls Logo

DCS Su-27 Flanker - Page 119

DCS Su-27 Flanker
143 pages
Print Icon
To Next Page IconTo Next Page
To Next Page IconTo Next Page
To Previous Page IconTo Previous Page
To Previous Page IconTo Previous Page
Loading...
[SU-27]
DCS
Eagle Dynamics
113
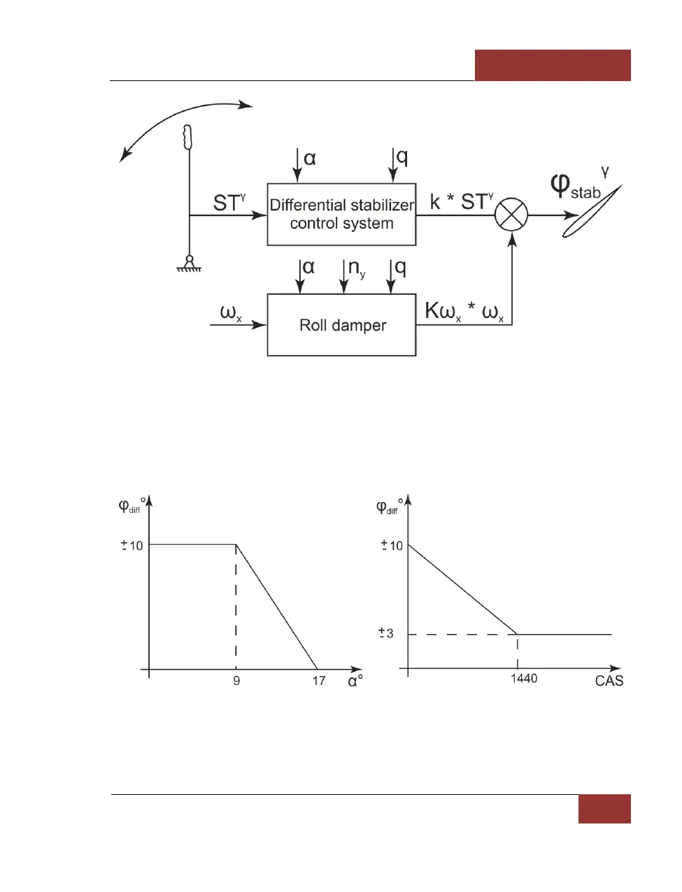
Figure 88: Lateral channel stabilizer control schematic block diagram
The flaperons and rudders belong to the mechanical part of the control system. The lateral channel
of the fly-by-wire system, which includes differential control mechanism and roll damper, controls the
differential stabilizer deflection.
The differential control mechanism is actuated by side stick inputs and provides differential stabilizer
deflection. The degree of this deflection depends on the indicated airspeed and angle of attack.
Figure 89: AoA and CAS correction of the differential stabilizer

Table of Contents