EasyManua.ls Logo

Ericsson MINI-LINK BAS - Rear Access Shelf

Ericsson MINI-LINK BAS
174 pages
Print Icon
To Next Page IconTo Next Page
To Next Page IconTo Next Page
To Previous Page IconTo Previous Page
To Previous Page IconTo Previous Page
Loading...
8-11 MINI-LINK BAS
EN/LZB 111 0542 P2B Technical Description
-48V 0 GND
-48V 0 GND
GND
-48V 0
-48V 0
TEST
SUBID
FAN ALARM
A
B
D
U
M
M
Y
P
O
U
P
O
U
X 1 2
16 17 18/19
CE (E1/T1 Unit)
ET (155, 45, 34 Mbps)
Figure 8-8 C-AAS (CE Shelf) Front Access Type
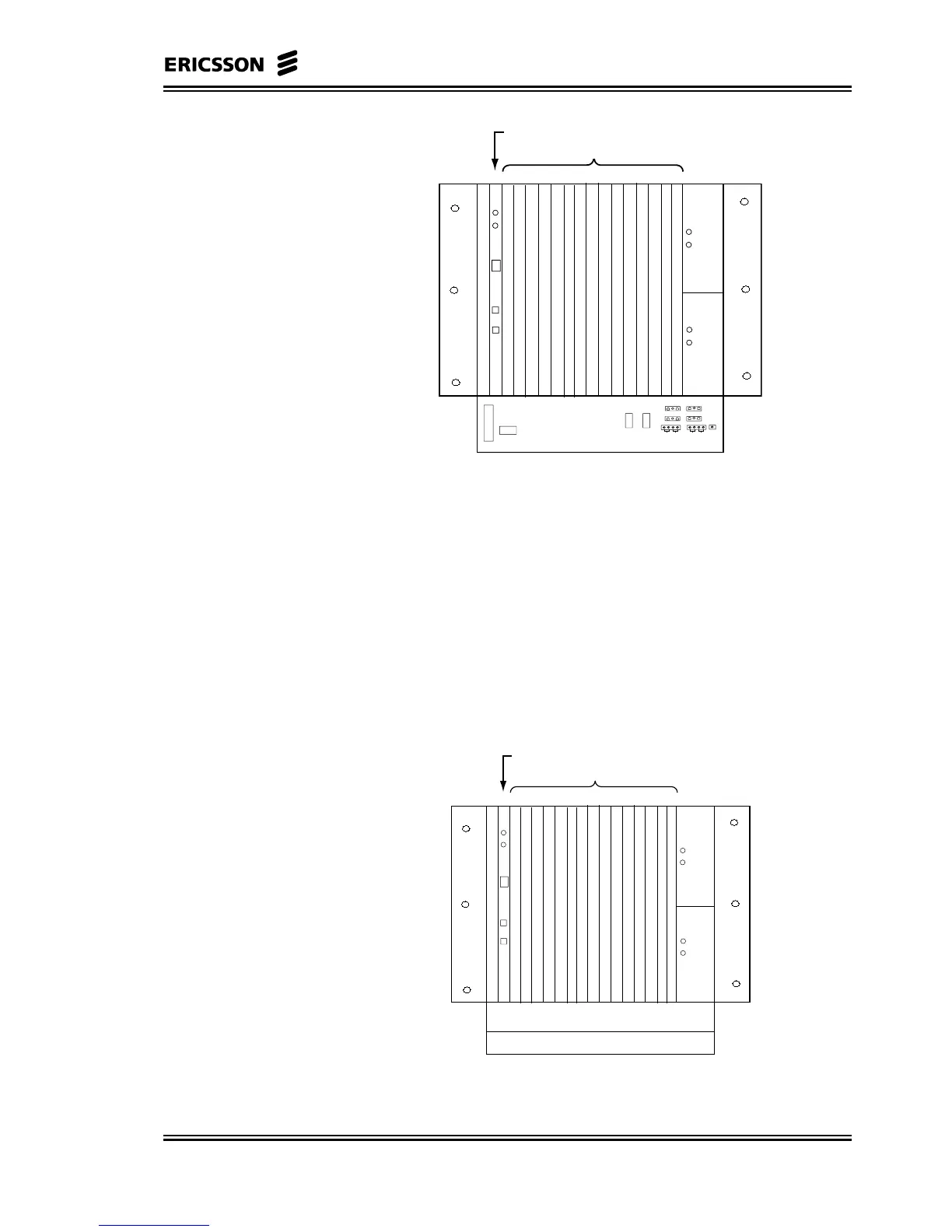
8.4.2 Rear Access Shelf
The rear access shelf is based on the same equipment practice as front
access. The main differences are the rear accessible connection field,
the champ connectors, instead of SubD, connectors and the fan unit
placed below the card cage.
Fire enclosure bottom requirements according to IEC 60950/UL 1950
are fulfilled on each rear access shelf.
FAN
D
U
M
M
Y
P
O
U
P
O
U
X 1 2
16 17 18/19
CE (E1/T1 Unit)
ET (155, 45, 34 Mbps)
Figure 8-9 C-AAS (CE Shelf) Rear Access Type

Table of Contents

Related product manuals