EasyManua.ls Logo

FLIR T1020 - View from the Rear

FLIR T1020
260 pages
Print Icon
To Next Page IconTo Next Page
To Next Page IconTo Next Page
To Previous Page IconTo Previous Page
To Previous Page IconTo Previous Page
Loading...
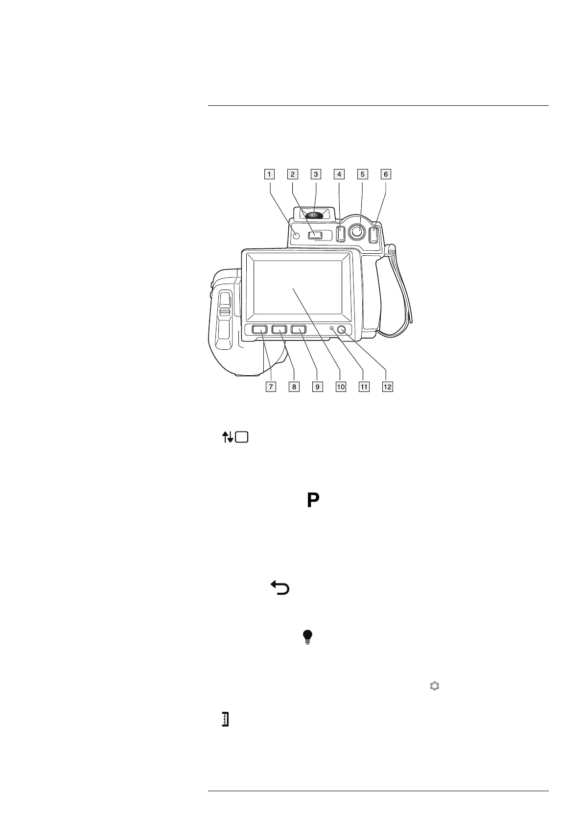
Camera parts
10
10.4 View from the rear
10.4.1 Figure
10.4.2 Explanation
1. Sensor that adjusts the touch-screen LCD intensity automatically.
2.
button.
Function:
Push to switch between touch-screen LCD mode and viewfinder mode.
3. Viewfinder.
4. Programmable button
.
5. Joystick with push-button functionality.
Function:
Move the joystick left/right or up/down to navigate in menus, submenus, and dia-
log boxes, and to change values in dialog boxes.
Push the joystick to confirm changes and settings in menus and dialog boxes.
6. Back button
.
Function:
Push to leave dialog boxes and to go back into the menu system.
7. Camera lamp button
.
Function:
Push to turn on or off the camera lamp.
Note The camera lamp must be enabled. Select
(Settings) > Device set-
tings > Set up camera > Lamp & laser > Enable lamp & laser.
8.
button.
Function:
Push to switch between automatic and manual image adjustment mode.
#T559954; r. AP/42311/42335; en-US
21

Table of Contents

Other manuals for FLIR T1020

Related product manuals