EasyManua.ls Logo

FujiFilm NXT - Page 71

FujiFilm NXT
162 pages
Print Icon
To Next Page IconTo Next Page
To Next Page IconTo Next Page
To Previous Page IconTo Previous Page
To Previous Page IconTo Previous Page
Loading...
QD002-07 3. Machine Set Up
NXT Setup Manual 63
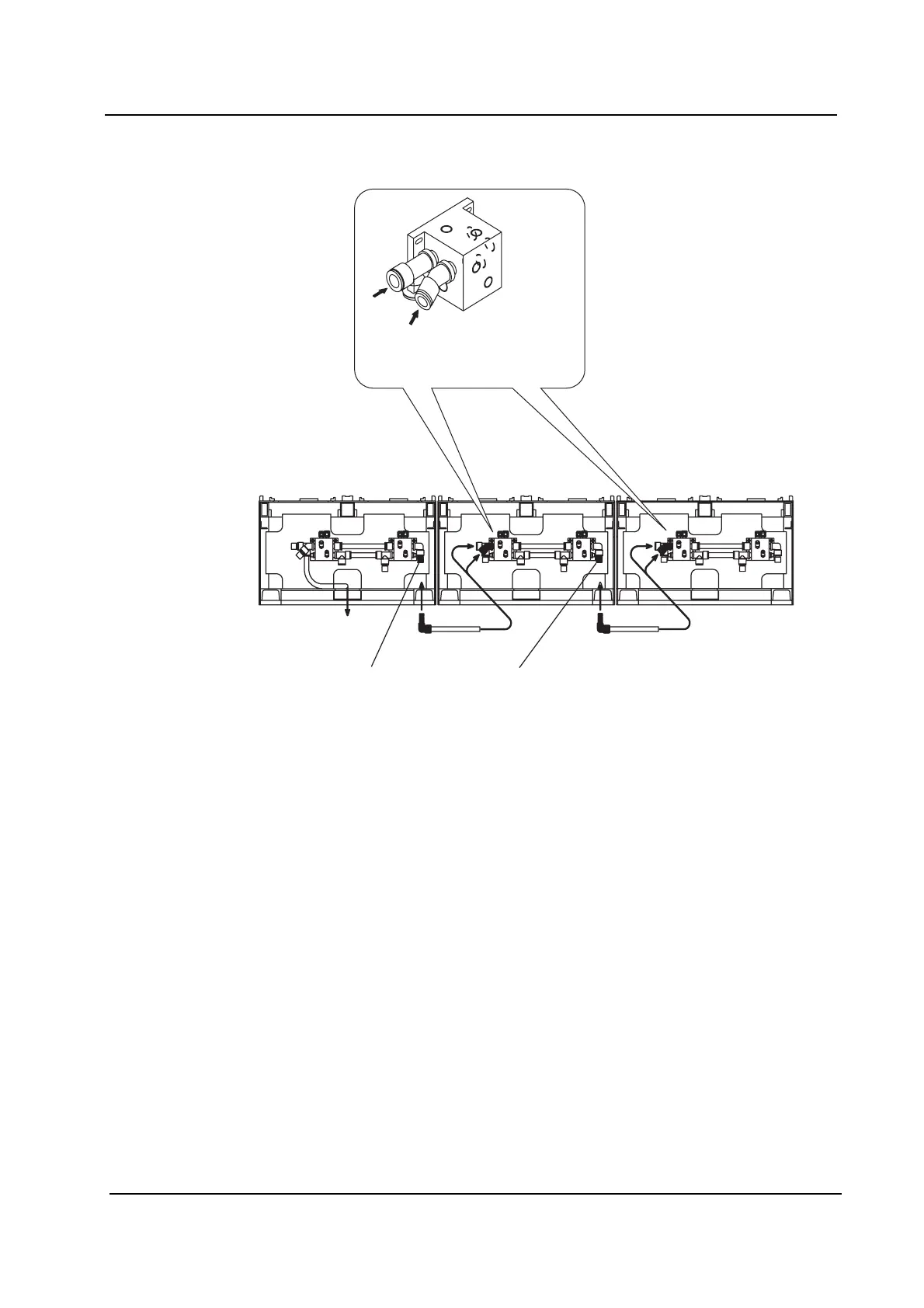
Pneumatic Connections
Connecting the Bases
After attaching the signal cables and pneumatic connections, fasten neighboring bases
using the special bracket. Refer to section 3.8.13 "Fastening Extensions" for details.
Remove the two plugs and attach the T2 tube elbow connector.
T2 tubes (2)
To stand-alone
control box
Front view
Independent 2M base
Dependent
2M base
T2 tubes (2)
Dependent 2M base
NXTSET022E
Remove the plugs from these
two locations, and then connect
the T2 tubes.

Table of Contents