EasyManua.ls Logo

FujiFilm NXT - Using Two 2 M Bases and an Independent 4 M Base (1)

FujiFilm NXT
162 pages
Print Icon
To Next Page IconTo Next Page
To Next Page IconTo Next Page
To Previous Page IconTo Previous Page
To Previous Page IconTo Previous Page
Loading...
3. Machine Set Up QD002-07
68 NXT Setup Manual
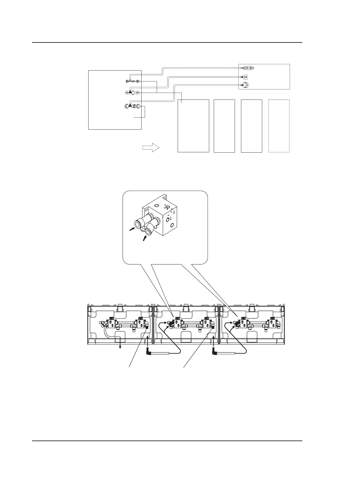
Pneumatic Connections
Connecting the Bases
After attaching the signal cables and pneumatic connections, fasten neighboring bases
using the special bracket. Refer to section 3.8.13 "Fastening Extensions" for details.
Panel flow
NXTSET196Ea
Stand-alone control box
2M base
(1st)
2M base
(2nd)
2M base
(3rd)
2M base
(4th)
RH2142*
To I/F CN6
RH2141*
Thermo fuse
Inverter bracket
MS1CN3
Inverter bracket
MS1CN1
Control box
BCBCN2
Thermo fuse 2
Inverter bracket
MS3CN3
Inverter bracket
MS3CN1
RH2143*
Vacuum pump box
Stand-alone Control - 2M Base (First) - Vacuum Pump Box
Harness Connection Diagram
Remove the two plugs and attach the T2 tube elbow connector.
T2 tubes (2)
To stand-alone
control box
Front view
Independent 2M base
Dependent
2M base
T2 tubes (2)
Dependent 2M base
NXTSET022E
Remove the plugs from these
two locations, and then connect
the T2 tubes.

Table of Contents