EasyManua.ls Logo

FujiFilm NXT - Page 83

FujiFilm NXT
162 pages
Print Icon
To Next Page IconTo Next Page
To Next Page IconTo Next Page
To Previous Page IconTo Previous Page
To Previous Page IconTo Previous Page
Loading...
QD002-07 3. Machine Set Up
NXT Setup Manual 75
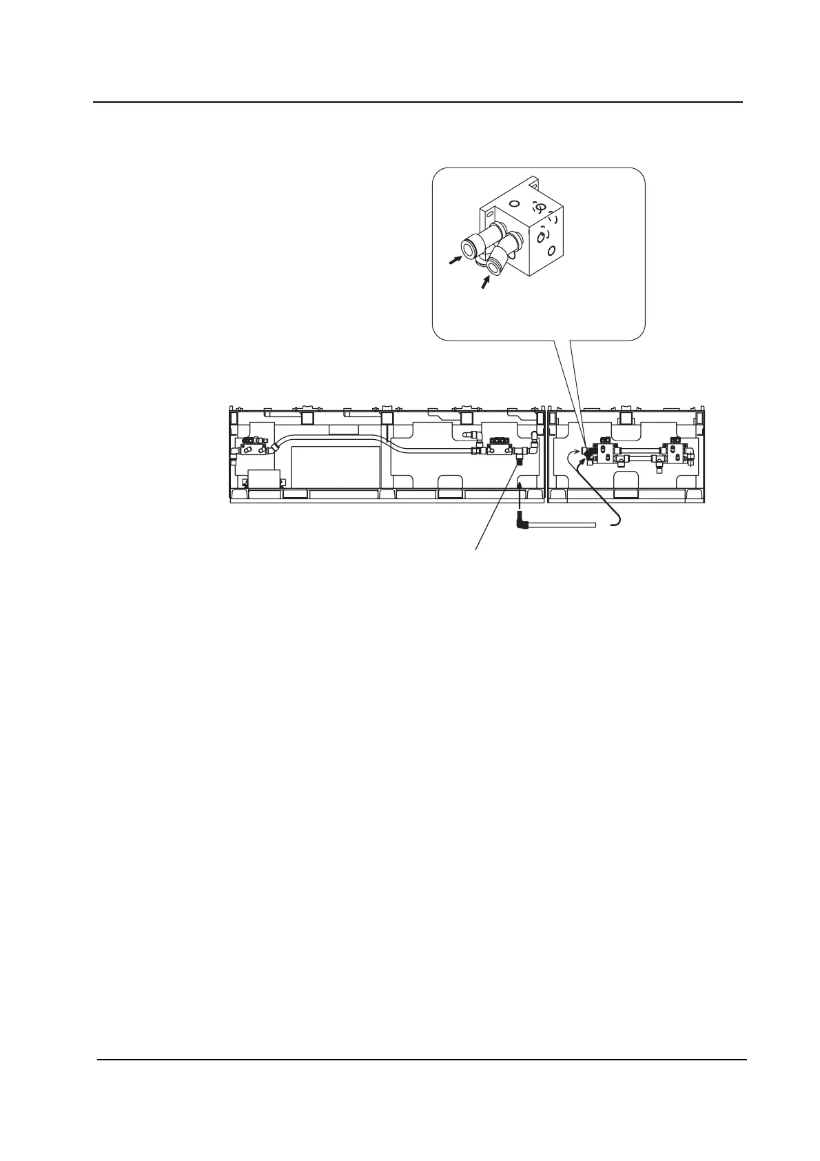
<For the Independent 4M Base (serial No. 295 and later)>
Connecting the Bases
After attaching the signal cables and pneumatic connections, fasten neighboring bases
using the special bracket. Refer to section 3.8.13 "Fastening Extensions" for details.
Independent 4M base Dependent 2M base
Front view
NXTSET025Ea
Remove the two plugs and attach the T2 tube elbow connector.
T2 tubes (2)
Remove the plugs from these
two locations, and then connect
the T2 tubes.

Table of Contents