EasyManua.ls Logo

GF Welding Weld334m - Connections for Main Power Supply

Default Icon
94 pages
Print Icon
To Next Page IconTo Next Page
To Next Page IconTo Next Page
To Previous Page IconTo Previous Page
To Previous Page IconTo Previous Page
Loading...
Weld334m - User’s manual
16
3.1.2
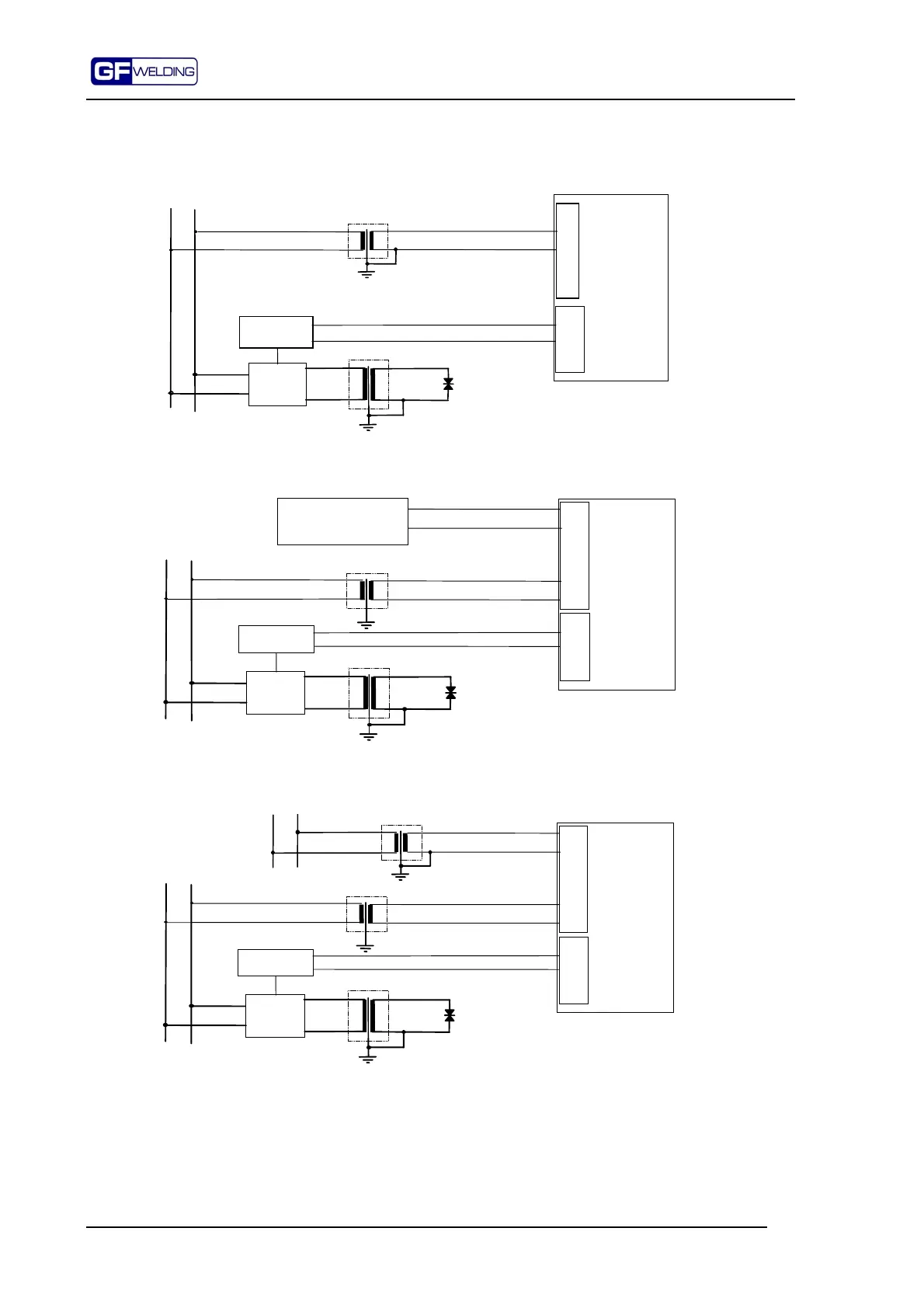
Connections for main power supply.
Diagrams for control device power supply are illustrated below.
Ac input taken from the power line of the welding transformer.
1
2
3
4
WELD334
PS
P21
Firing device
SCR
1
2
Welding transformer
380Vac line
Power
supply
Pulse
control
Power transformer
14,4-32,4Vac
Dc supply
1
2
3
4
WELD334m
PS
P21
Firing device
SCR
1
2
Insulation transformer
Welding transformer
380Vac line
Power supply
External Sync.
Pulse
control
12-33Vac
24Vdc external power
feeder
18-36Vdc
Ac supply taken from a line separate from the welding transformer power supply.
1
2
3
4
WELD334m
PS
P21
Firing device
SCR
1
2
Vac privileged power
supply
Insulation transformer
Welding transformer
380Vac line
Power supply
External
sync.
Pulse
control
12-33Vac
14,4-32,4Vac
Power supply transformer

Table of Contents