EasyManua.ls Logo

GF Welding Weld334m - Page 25

Default Icon
94 pages
Print Icon
To Next Page IconTo Next Page
To Next Page IconTo Next Page
To Previous Page IconTo Previous Page
To Previous Page IconTo Previous Page
Loading...
Weld334m - User’s manual
19
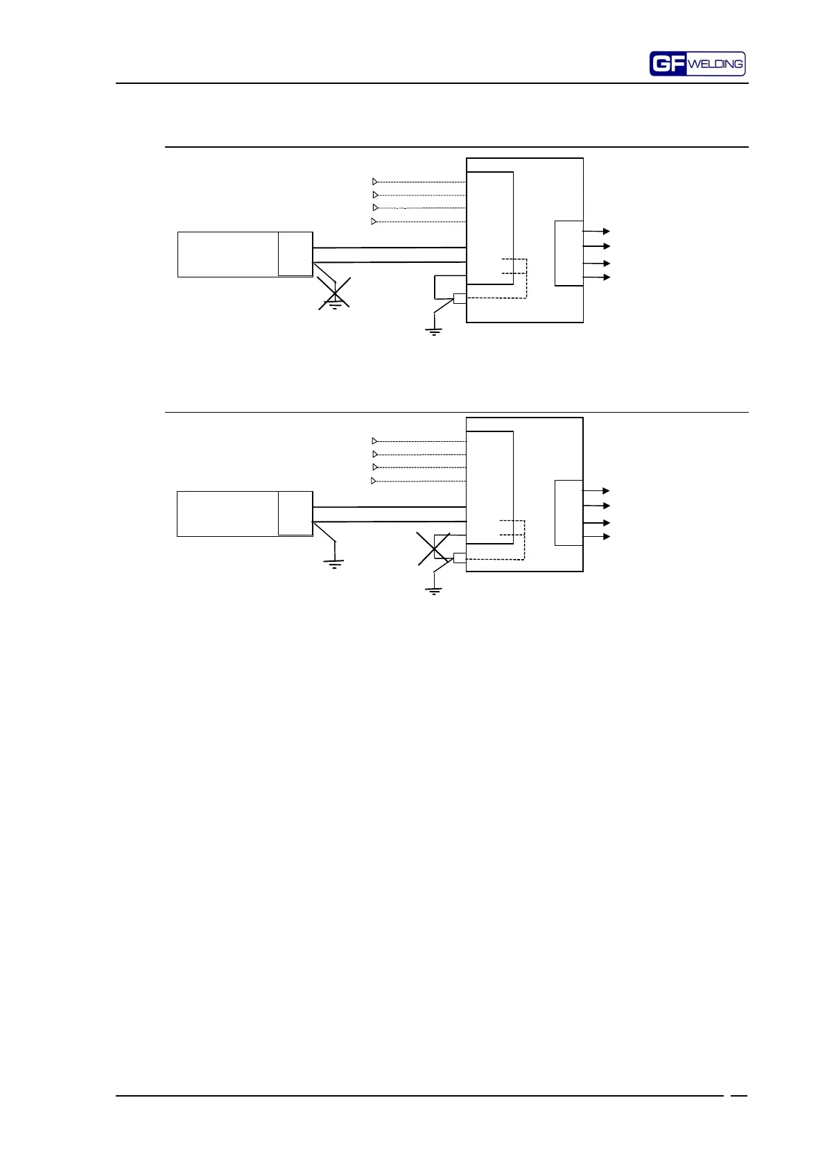
Figure c: Use of +24VE (external) with earth on the Weld334m side
Faston
1
2
3
4
P20
1
2
3
4
5
6
7 0V
8 0V
PS
PWR
Externa
l
powe
r
feeder
+24VE
+24
0
SYNC.
Power supply
Weld334m
*
+24
0V
I/O
If earthing for 24VE supply has been performed on the welding control device side, then
the external power feeder is not to be earthed.
Figure d: +24VE with earth on the external power feeder side
Faston
1
2
3
4
P20
1
2
3
4
5
6
7 0V
8 0V
PS
PWR
External power
feeder
+24VE
+24
0
SYNC.
Power supply
External synch
Weld334m
*
+24
0V
I/O
If earthing for 24VE supply has been performed on the external power feeder side, then the
welding control device is not to be earthed.
The connection of pin 8 of the PS to the earth faston terminal is required only if the
internal power feeder is of F350 type, if the internal power feeder is of F370 type, the
link to the earth faston terminal is done internally and the connection between pin 8 of
the PS and the faston terminal is not required.

Table of Contents