EasyManua.ls Logo

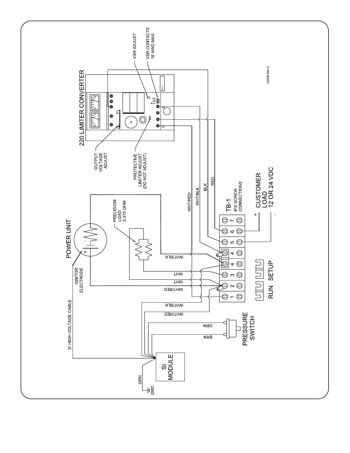
Global 5120 - Figure 13 Wiring Diagram 5120 Teg

Global 5120
79 pages
Print Icon
To Next Page IconTo Next Page
To Next Page IconTo Next Page
To Previous Page IconTo Previous Page
To Previous Page IconTo Previous Page
Loading...
GlobalPowerTechnologies 2-12
5120
Figure 13WiringDiagram5120TEG

Table of Contents

Related product manuals