EasyManua.ls Logo

Hitachi PH - Page 50

Hitachi PH
288 pages
Print Icon
To Next Page IconTo Next Page
To Next Page IconTo Next Page
To Previous Page IconTo Previous Page
To Previous Page IconTo Previous Page
Loading...
Connection of signals 1-39
The voltage and current used by the external device must meet the following
specifications.
IL
20mA (VCE : TYP0.6V, MAX2V)
The IL maximum permissible current is 50 mA.
Vd
DC30V
(b) Changeover between printing-in-progress and printing-complete
Perform printing-in-progress/printing-complete signal changeover setup from
the user environment setup screen.
(See Section 4.2, Setting the User Environment).
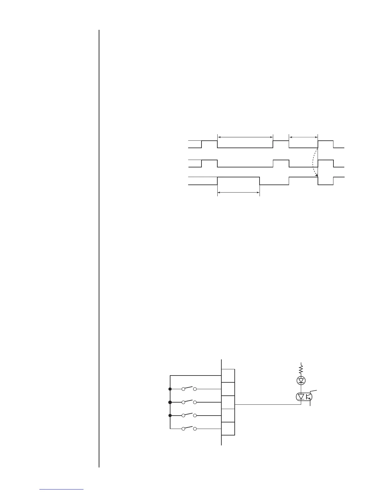
(c) Signal timing
Printing operation
Printing in progress
signal
Printing-complete
signal
Printing-
complete signal
ON
OFF
ON
OFF
more than 1 sec
Less than 1 sec
1 sec
*
* The printing-complete signal turns OFF when the next print-
ing operation starts within an elapse of less than 1 second.
1.5.3-9 Input for remote control signals
These connection terminals enter actions corresponding to the run-state operation
keys of the IJ printer (Run, Stop, fault Clear, and Deflection Voltage Control
(switchover between a standby state and a ready state), by means of external switches,
contact signals, or something similar.
(a) Input specifications
Make inputs by no-voltage contacts.
In the case of no-contact, use terminals that satisfy the following requirements:
Withstanding voltage: 12 VDC or more
Maximum driving current: 12 mA or more
Residual voltage: 2 V or less
Leak current: 0.1 mA or less
Driving method: Open collector
In the case of contact signal
In the case of the chattering when contact is ON or OFF , use terminals of 2.0
ms or less.
(No-voltage contact)
The current applied to the
system is about
12 mA.
+12V
13
10
14
15
16
Signal ground
High-voltage ON/OFF
Run
Reset (Clear)
Stop
TB1
GND
The same holds true for
the other signals.
?When all input contacts are ON, the system runs in the same manner as when the
Run,Clear, Stop, or Deflection Voltage Control key is pressed.
*

Table of Contents

Related product manuals