EasyManua.ls Logo

HP A3100-8 v2 SI - Page 38

HP A3100-8 v2 SI
193 pages
To Next Page IconTo Next Page
To Next Page IconTo Next Page
To Previous Page IconTo Previous Page
To Previous Page IconTo Previous Page
Loading...
1.
The systems compare the system ID (which comprises the system LACP priority and the system
MAC address). The system with the lower LACP priority value wins. If they are the same, the
systems compare the system MAC addresses. The system with the lower MAC address wins.
2. The system with the smaller system ID selects the port with the smallest port ID as the reference port.
A port ID comprises a port LACP priority and a port number. The port with the lower LACP priority
value wins. If two ports have the same LACP priority, the system compares their port numbers. The
port with the smaller port number wins.
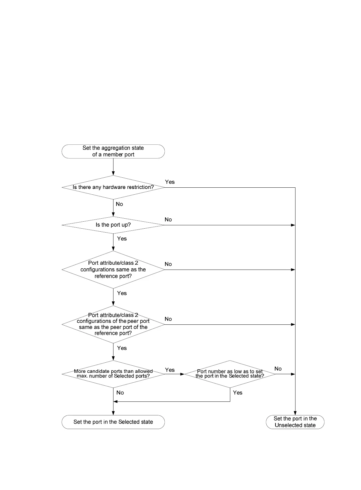
Setting the aggregation state of each member port
After the reference port is selected, the system with the lower system ID sets the state of each member port
in the dynamic aggregation group on its side
Figure 7 Setting the state of a member port in a dynamic aggregation group
31

Table of Contents

Other manuals for HP A3100-8 v2 SI

Related product manuals