EasyManua.ls Logo

HP LaserJet 4000 - Page 91

HP LaserJet 4000
377 pages
To Next Page IconTo Next Page
To Next Page IconTo Next Page
To Previous Page IconTo Previous Page
To Previous Page IconTo Previous Page
Loading...
EN
Printer Subsystems
5-3
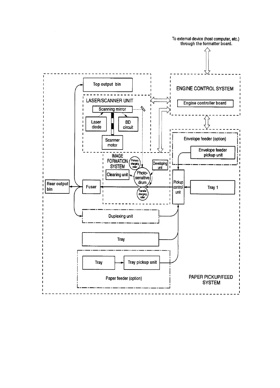
Figure 5-1
Paper Feed Subsystem

Table of Contents

Related product manuals