EasyManua.ls Logo

HP LaserJet 4000 - High Voltage Power Distribution

HP LaserJet 4000
377 pages
To Next Page IconTo Next Page
To Next Page IconTo Next Page
To Previous Page IconTo Previous Page
To Previous Page IconTo Previous Page
Loading...
5-6 Functional Information
EN
High Voltage Power Distribution
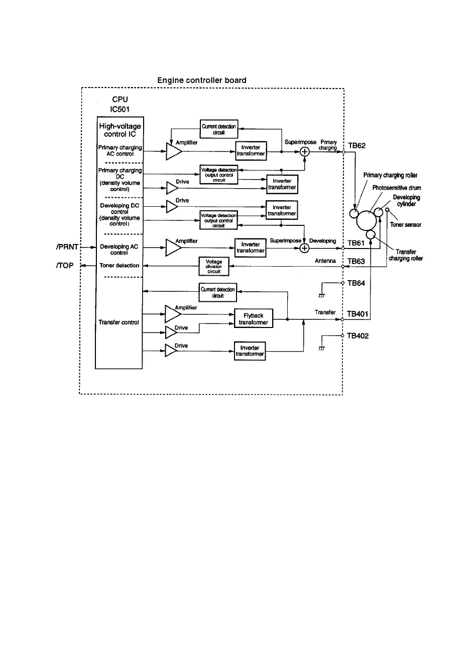
Figure 5-3 Engine Controller Board
In response to the instructions from the microprocessor
(CPU:IC 1501) on the Engine Controller Board, this circuit applies the
superimposed voltage of DC voltage and AC voltage to the primary
charging roller and developing cylinder, and a positive or negative DC
voltage to the transfer charging roller.
According to the image density information sent from the Formatter,
this circuit varies the primary DC bias and developing DC bias to
adjust the image density.

Table of Contents

Related product manuals