EasyManua.ls Logo

Hydrafeed MSV 65 - Page 108

Default Icon
214 pages
Print Icon
To Next Page IconTo Next Page
To Next Page IconTo Next Page
To Previous Page IconTo Previous Page
To Previous Page IconTo Previous Page
Loading...
105
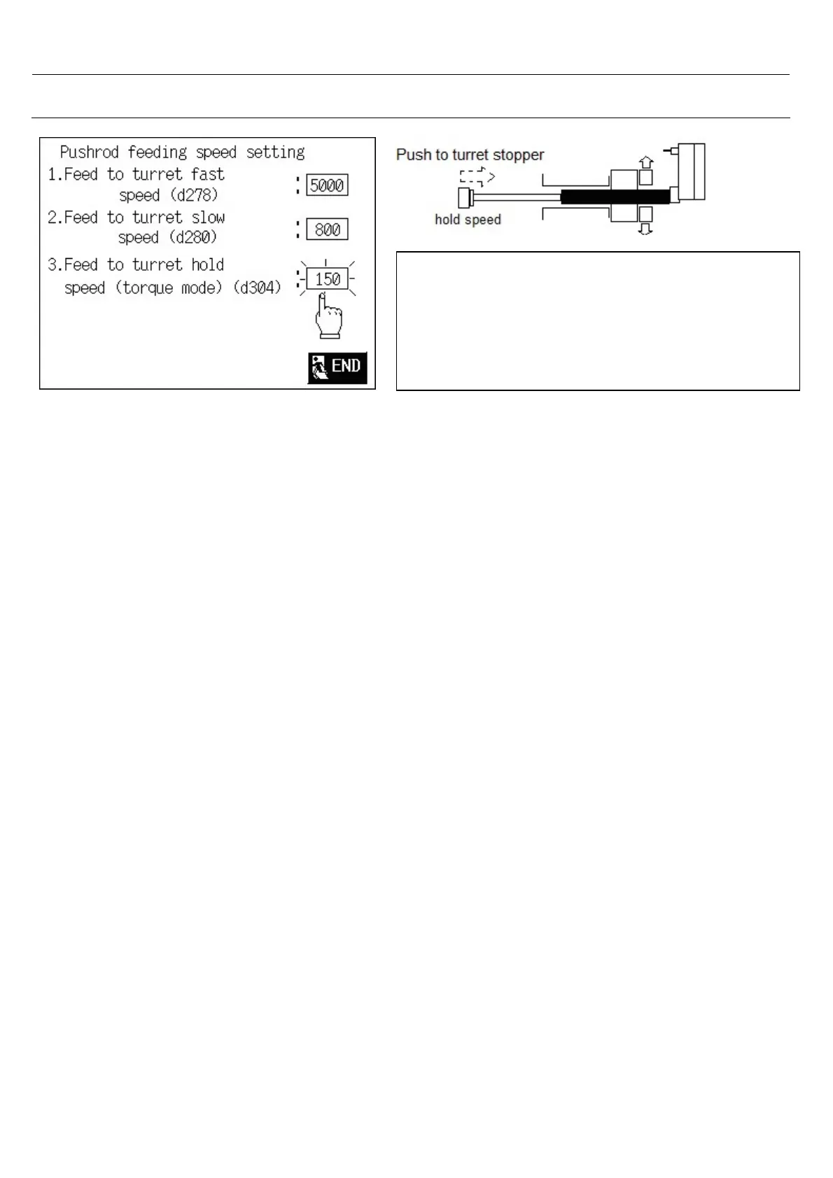
4. System Setup
Hold speed setting for push bar to turret stopper
setting ranges: 100- 500 (65- 325mm/sec)
Factory setting data : 150(98mm/sec)

Table of Contents

Related product manuals