EasyManua.ls Logo

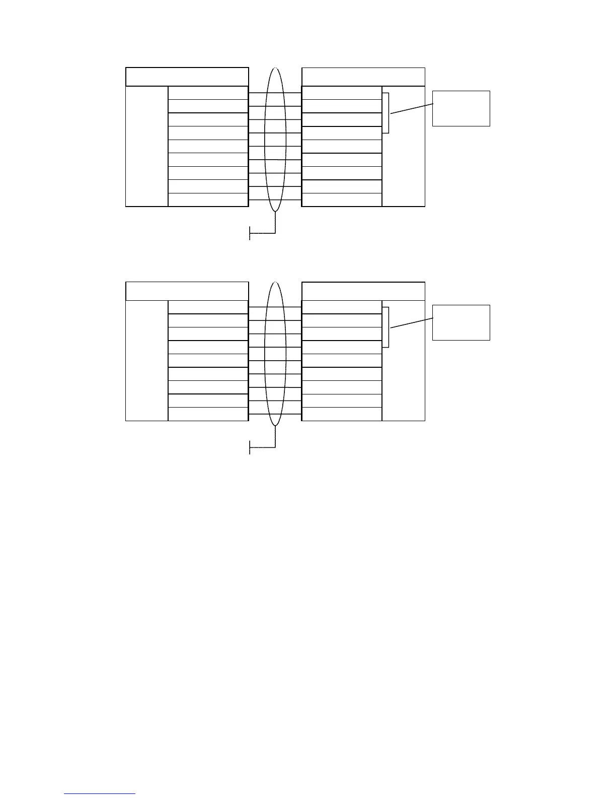
Incon OPTImizer 2 - Figure 26: 25-Pin to 9-Pin Cable Connections

Incon OPTImizer 2
74 pages
Print Icon
To Next Page IconTo Next Page
To Next Page IconTo Next Page
To Previous Page IconTo Previous Page
To Previous Page IconTo Previous Page
Loading...
62
(IN) DCD 8
(IN) RXD 3
(OUT) TXD 2
(OUT) DTR 20
GND 7
6
(OUT) RTS 4
(IN) CTS 5
9
DTE Device
STRAIGHT- THROUGH
1 DCD (OUT)
2 RXD (OUT)
3 TXD (IN)
4 DTR (IN)
5 GND
6 N/C
7 RTS (IN)
8 CTS (OUT)
9 N/C
DCE Device
OPTImizer
2
9
Pin
25
Pin
Pins 1 and 4
are connected
internally
(IN) DTR 2
0
(IN) TXD 2
(OUT) RXD 3
(OUT) DCD 8
GND 7
6
(OUT) CTS 5
(IN) RTS 4
9
DCE Device
“NULL MODEM”
Cable
1 DCD (OUT)
2 RXD (OUT)
3 TXD (IN)
4 DTR (IN)
5 GND
6 N/C
7 RTS (IN)
8 CTS (OUT)
9 N/C
DCE Device
OPTImizer
2
9
Pin
25
Pin
Pins 1 and 4
are connected
internally
Figure 26: 25-pin to 9-pin Cable Connections
Note: All references are to DTE 25 and 9 pin conventions.

Table of Contents

Related product manuals