EasyManua.ls Logo

Jumbo PH Series - Vinduessæt Installation; Udstødningsslange Installation

Jumbo PH Series
Print Icon
To Next Page IconTo Next Page
To Next Page IconTo Next Page
To Previous Page IconTo Previous Page
To Previous Page IconTo Previous Page
Loading...
利用 pdfFactory 测试版本创建的PDF文档 www.pdffactory.com
INSTALLATIONSINSTRUKTIONER (valgfrit)
Udstødningsslange installation:
Udstødningsslangen og adapteren skal installeres eller
fjernes i overensstemmelse med brugsformen.
Fjern
INSTALLATIONSINSTRUKTIONE
R
Vandafdræning:
- Under affugtnings-tilstanden, fjern dræn
Fig.16
Ekspansionspro
p placering
AdapterA
Adapterh
ætte
Fig.17
Fig.18
KØLE-, AUTO-tilstand
Installér
VENTILATOR-, AFFUGTNINGS-tilstand
Fjern
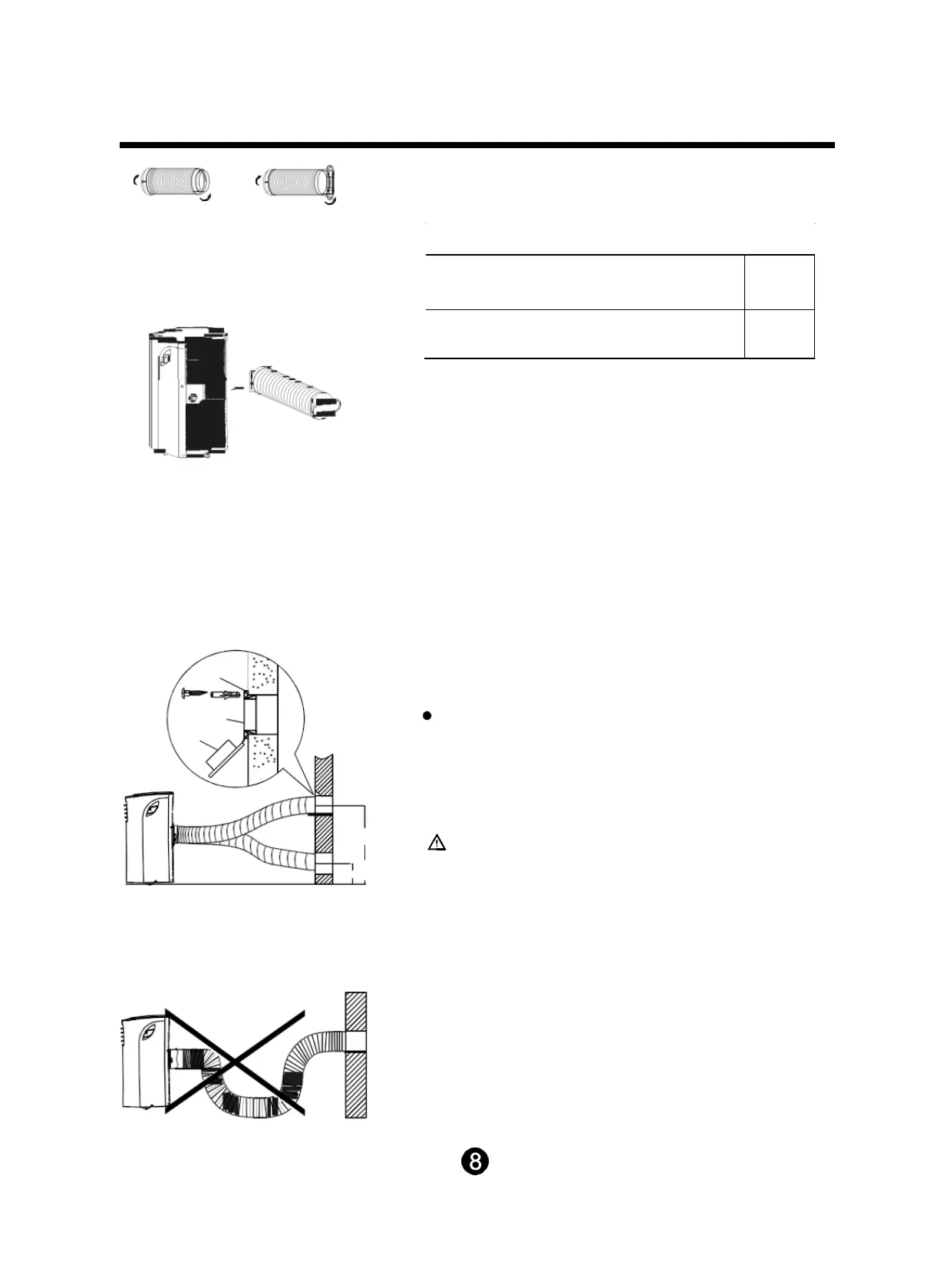
1. Installer vinduesdstødnings-adapter B på
udstødningsslangen, som vist i Fig.16. eller Fig.17. Se
de foregående sider for vinduessæt-installation.
2. Skub Udstødningsslangen i luft-udløbsåbningen langs
pilens retning (se Fig.18).
Udstødningsslangen kan installeres i væggen
(Ikke gyldig for enheden uden adapter A,
Ekspansionspropper og træ-skruer i Tilbehør ).
1. Klargør et hul i væggen. Installer vægudstødnings-adapterA
på væggen (udvendigt) ved hjælp af 4 ekspansionsstik og
træ-skruer, sørg for at fastsætte grundigt. (Se Fig.19)
2. Påsæt udstødningsslangen til den installerede adapter
B(rund mund)
til væg Udstødningsadapter A.
Bemærk:
Dæk hullet ved hjælp af adapterhætten når det ikke er i
brug.
Kanalen kan trykkes sammen eller udvides moderat, i
henhold til installationskravene, men det er ønskeligt at
holde kanallængden på et minimum.
VIGTIGT:
BØJ IKKE KANALEN FOR MEGET (SE Fig.20)
FORSIGTIG:
drænprop
Fig.22
prop fra bagsiden af enheden, installer
drænforbindelsen(5/8 universel hun-heler) med
3 4 slange(købt lokalt). For modeller uden
drænforbinder, bare påt drænslangen til
hullet. Placér den åbne ende af slangen
direkte over drænområdet i dit kældergulv. Se
venligst Fig.21 & 22.
- Når vandniveauet i bundbakken når et
forudbestemt niveau, bipper enheden 8 gange,
det digitale displayområde viser "P1". På dette
tidspunkt
vil klimastyring/affugtningsprocessen stoppe
omgående. Men ventilatormotoren vil fortsætte
med at køre (dette er normalt).
Flyt forsigtigt enheden til en dræn-placering,
fjern bund-drænproppen og lad
vandet dræne (Fig.23). Geninstaller bund-
drænproppen og genstart maskinen indtil "P1"
symbolet forsvinder. Hvis fejlen gentages, ring
efter service.
BEMÆRK: Sørg for at geninstallere bund-
drænproppen r enheden anvendes.
maks. 120CM
min. 30CM
Sørg for at der ikke er forhindringer omkring luftudløbet
på udstødningsslangen (i en omkreds af 500 mm) for at
udstødningssystemet virker korrekt.
Bund-drænprop
Fig.19

Table of Contents

Related product manuals