EasyManua.ls Logo

Jumbo PH Series - Installazione del Tubo DI Scarico Dellaria

Jumbo PH Series
Print Icon
To Next Page IconTo Next Page
To Next Page IconTo Next Page
To Previous Page IconTo Previous Page
To Previous Page IconTo Previous Page
Loading...
利用pdfFactory测试版本建的PDF文档www.pdffactory.com
13
12
ISTRUZIONI PER IL MONTAGGIO (su richiesta)
Installazione del tubo di scarico dell'aria
A seconda di come viene utilizzato l'apparecchio, devono essere montati
o smontati il tubo di scarico dell'aria e l'adattatore.
Modalit
à
di funzionamento
REFRIGERAZIONE, AUTOMATICO
Installazione
Modalit
à
di funzionamento
VENTILAZIONE, DEUMIDIFICAZIONE
Asportazione
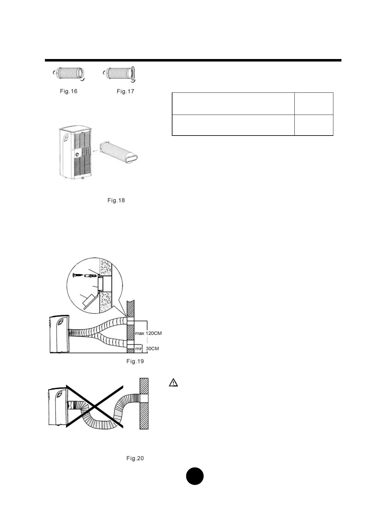
1. Installi l'adattatore B di scarico dell'aria dalla finestra sul
corrispondente tubo flessibile, come indicato in Fig. 16 o in
Fig. 17. Per il montaggio del modulo adattatore della
finestra, consulti le pagine precedenti.
2. Prema in direzione della freccia il tubo flessibile di scarico
dell'aria dentro l'apertura di espulsione dell'aria (vedere Fig.
18).
Il tubo flessibile di scarico dell'aria può essere installato
nella parete
(Questa istruzione non riguarda gli impianti privi di adattatore
A, di tasselli ad espansione e di vite da legno per gli
accessori).
1. Pratichi un foro nella parete. Monti l'adattatore A di uscita
sulla parete (lato esterno) mediante 4 tasselli ad
espansione e viti da legno e verifichi che il fissaggio sia
solido.(vedere la Fig. 19)
2. Colleghi l'adattatore B del tubo flessibile di scarico dell'aria,
che è stato installato (apertura rotonda), all'adattatore A di
scarico dell'aria sulla parete.
Indicazione:
Ricopra l'apertura non utilizzata con il coperchio
dell'adattatore.
A seconda delle necessità di montaggio, la canalina dell'aria
può essere leggermente compressa o allargata, ma la
lunghezza della canalina deve essere tenuta più corta
possibile.
IMPORTANTE:
NON PIEGHI TROPPO LA CANALINA DELL'ARIA (VEDERE
LA FIG. 20)
USARE PRUDENZA:
Faccia attenzione che non vi siano ostacoli all'uscita del tubo
flessibile di scarico (in una zona di 500 mm), in modo che il
sistema di scarico dell'aria funzioni correttamente.
ISTRUZIONI PER L'INSTALLAZIONE
Scarico dell'acqua di condensa
- Nella modalità di deumidificazione, tolga il tappo
di scarico sul lato posteriore dell'impianto e monti
il connettore di scarico (presa universale da 5/8 di
pollice) con il tubo flessibile da 3/4 di pollice (da
acquistare sul posto). Nei modelli privi di
connessione per lo scarico, fissi il tubo flessibile
di scarico direttamente sull'apertura. Porti
l'estremità aperta del tubo flessibile direttamente
in discarica tramite lo scarico sul pavimento.
Vedere per questo le Figg. 21 e 22.
- Quando il livello dell'acqua nella bacinella
inferiore ha raggiunto un punto predeterminato,
l'impianto emette un segnale intermittente 8 volte
e l'indicatore digitale segnala "P1". In quel
momento il condizionamento / la
deumidificazione si arrestanoimmediatamente.
Ma il motore del ventilatore continua a girare (e
questo è normale).
Facendo attenzione, porti l'impianto presso un
punto di scarico, tolga il tappo di scarico sul
fondo e lasci fuoriuscire l'acqua (Fig. 23).
Inserisca nuovamente il tappo di scarico sul
fondo e riavvii l'impianto, fino a quando il simbolo
"P1" scompare. Se l'errore si ripresenta
nuovamente, si rivolga al
servizio di assistenza clienti.
INDICAZIONE: Non dimentichi di inserire
nuovamente il tappo di scarico sul fondo prima di
utilizzare ancora l'impianto.
Coperchio di
chiusura
dell'adattatore
A
Posizione del tassello
a espansione
Tolga il
collegamento
dello scarico
Tubo flessibile per lo
scarico in continuo
Tappo di scarico sul fondo

Table of Contents

Related product manuals