EasyManua.ls Logo

KERN ABS-N Series - Page 183

KERN ABS-N Series
287 pages
Go to English
To Next Page IconTo Next Page
To Next Page IconTo Next Page
To Previous Page IconTo Previous Page
To Previous Page IconTo Previous Page
Loading...
ABS-N_ABJ-NM-BA-e-1715 87
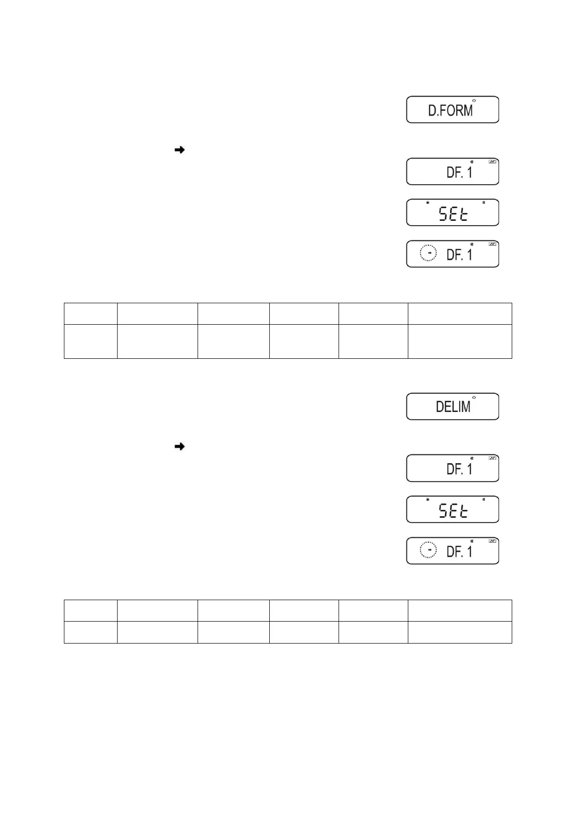
7. Set data format
Use ON/OFF to return to menu
Press the navigation buttons ( ) repeatedly
until „D.FORM“ is displayed.
Press PRINT. The current setting is marked by the
stability display ( ).
Press the navigation buttons ( ) repeatedly until the
desired setting (e.g. DF.1) appears.
Press TARE.
Selectable settings (details see chpt. 15.4):
Display DF.1 DF.2 DF.3 DF.4 DF.FREE
Data
format
Shimadzu
Standard
Shimadzu
Standard
Mettler
Standard
Sartorius
Standard
Options:
Head byte 1 -17,
Data length 8 -2
8. Set separator
Use ON/OFF to return to menu
Press the navigation buttons ( ) repeatedly
until „DELIM“ is displayed.
Press PRINT. The current setting is marked by the
stability display ( ).
Press the navigation buttons (
) repeatedly until the
desired setting (e.g. DF.1) appears.
Press TARE.
Selectable settings:
Display CR LF CR+LF COMMA WINI
Separator CR LF CR+LF COMMA not documented
9. Return to weighing mode
Press ON/OFF repeatedly or for 3 s.

Table of Contents

Related product manuals