EasyManua.ls Logo

Kikusui PCR 2000M - Page 23

Kikusui PCR 2000M
92 pages
Print Icon
To Next Page IconTo Next Page
To Next Page IconTo Next Page
To Previous Page IconTo Previous Page
To Previous Page IconTo Previous Page
Loading...
PCR-M 23
Chapter 2 Installation and Preparation
PCR1000M / PCR2000M
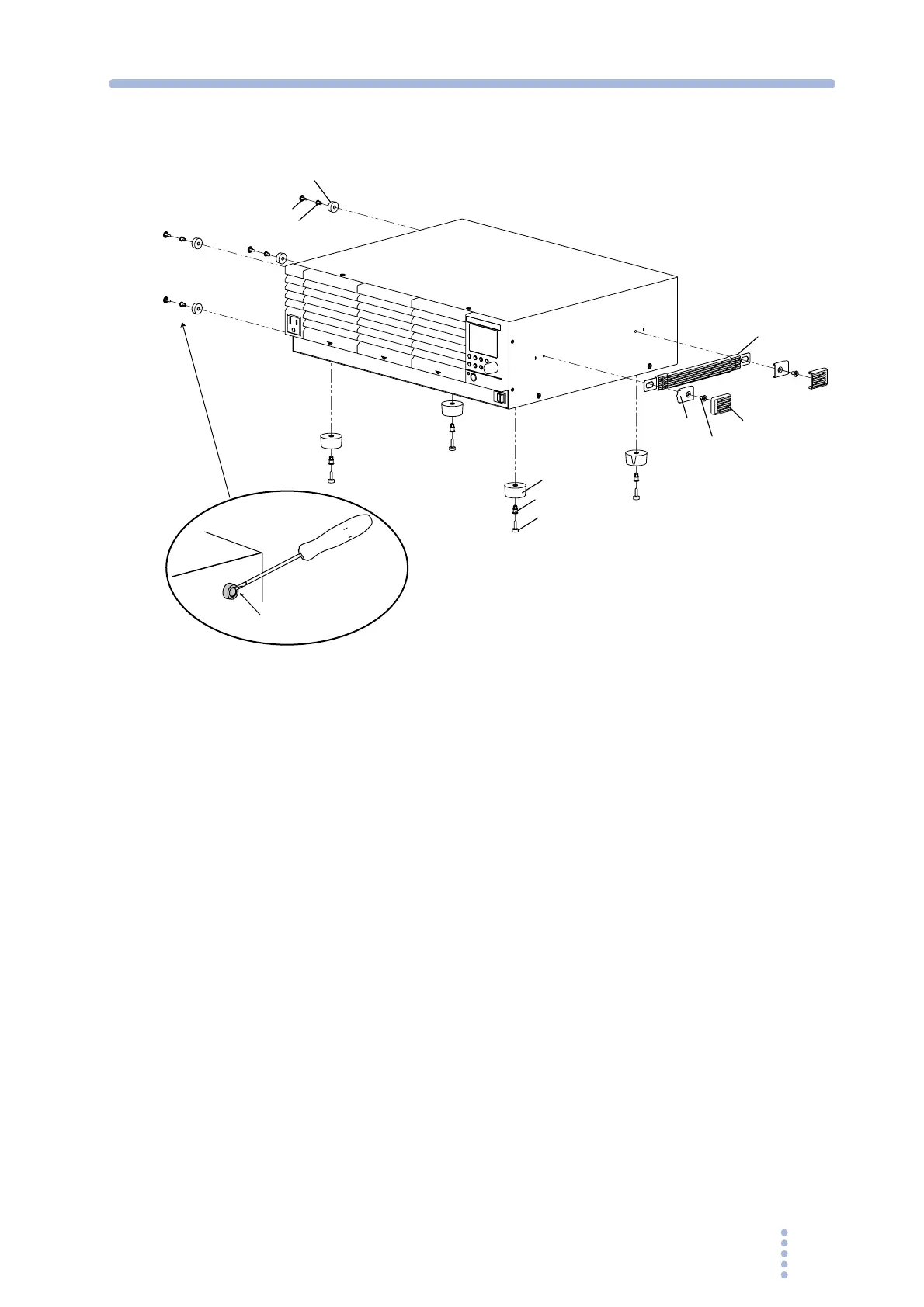
Fig.2-3 Removing the handle and feet (Example:
PCR1000M)
Removing the handle and feet
1.
Pull up on the handle cover (two locations).
2.
Unfasten the M4 flat-head screws (two locations) and remove the entire
handle.
3.
While pulling down on each foot on the bottom (four locations), turn the
screw pin, and remove the foot. Remove all four feet.
4.
Unlatch the pin in the foot on the side (four locations) using a flat-head
screwdriver, and remove the foot. Remove all four feet. (PCR1000M /
PCR2000M only)
Handle
Rivet
Bracket
Cover
M4flat-headscrew
(M4x0.7x0.8)
Foot
Screwpin
Foot
Rivet
Pin
Usetheflat-head
screwdriverto
removethepin.

Table of Contents

Related product manuals