EasyManua.ls Logo

Komatsu 830E - Page 223

Komatsu 830E
783 pages
Print Icon
To Next Page IconTo Next Page
To Next Page IconTo Next Page
To Previous Page IconTo Previous Page
To Previous Page IconTo Previous Page
Loading...
E02016 2/02 Electrical Propulsion Components E2-67
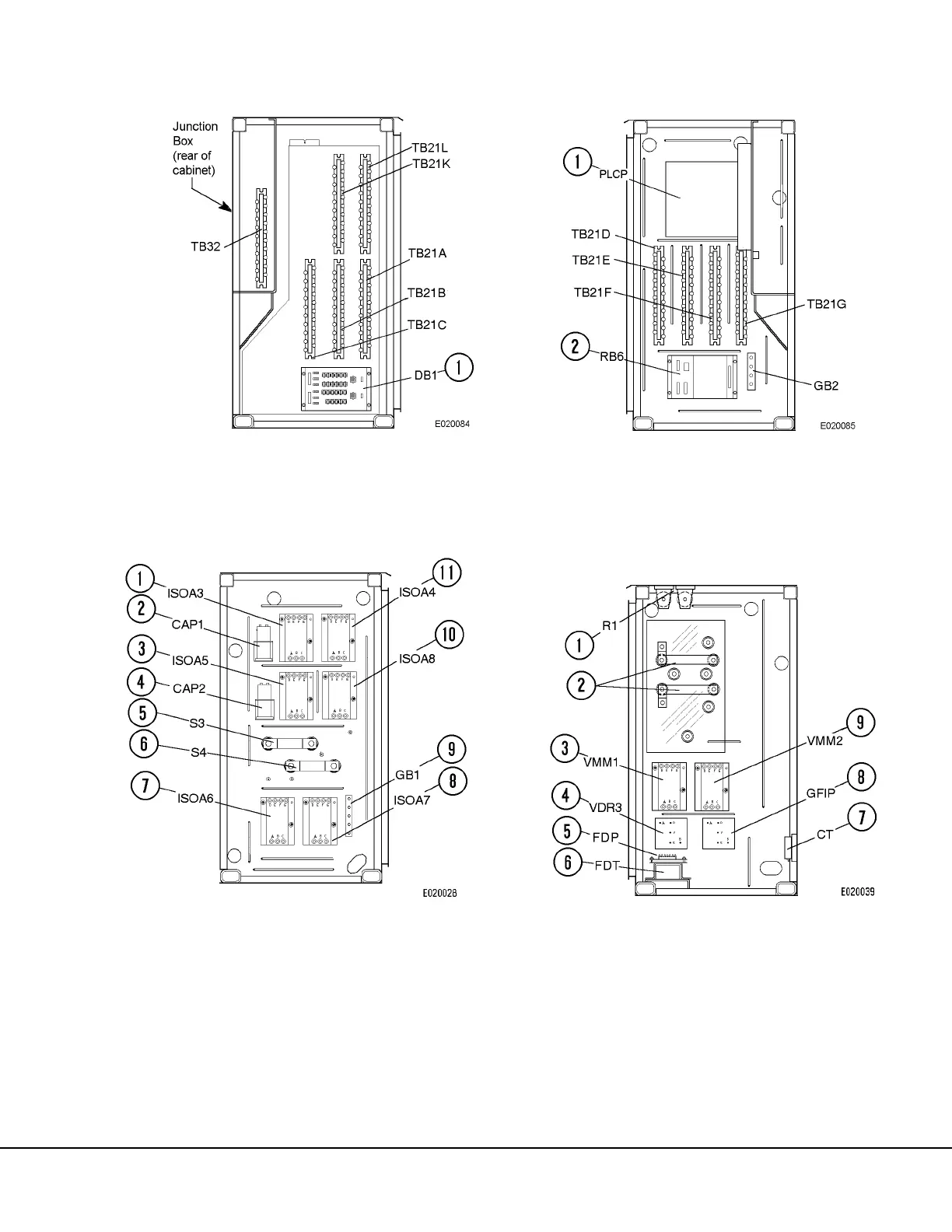
FIGURE 2-33. CONTROL CABINET, VIEW A
FIGURE 2-34. CONTROL CABINET, VIEW C
1. Diode Board DB1
1. Isolation Amplifier #3
2. Capacitor #1
3. Isolation Amplifier #5
4. Capacitor #2
5. Motor Field Current
Shunt
6. Alt. Field Current
Shunt
7. Isolation Amplifier #6
8. Isolation Amplifier #7
9. Ground Bus #1
10. Isolation Amplifier #8
11. Isolation Amplifier #4
FIGURE 2-35. CONTROL CABINET, VIEW B
FIGURE 2-36. CONTROL CABINET, VIEW D
1. Propulsion Load Con-
trol Panel (PLCP)
2. Relay Board RB6
1. Alt. Field Current Limit
Resistor Panel
2. Load Test Links
3. Voltage Measuring
Module #1
4. Voltage Divider Resis-
tor Panel #3
5. Fault Detection Panel
6. Diode Fault Detection
Transformer
7. Current Transformer
8. Ground Fault Interrupt
Panel
9. Voltage Measuring
Module #2

Table of Contents

Other manuals for Komatsu 830E

Related product manuals