EasyManua.ls Logo

Lenze 9325 - Page 66

Lenze 9325
524 pages
Print Icon
To Next Page IconTo Next Page
To Next Page IconTo Next Page
To Previous Page IconTo Previous Page
To Previous Page IconTo Previous Page
Loading...
Installation
4-26
SHB9300CRV EN 2.0
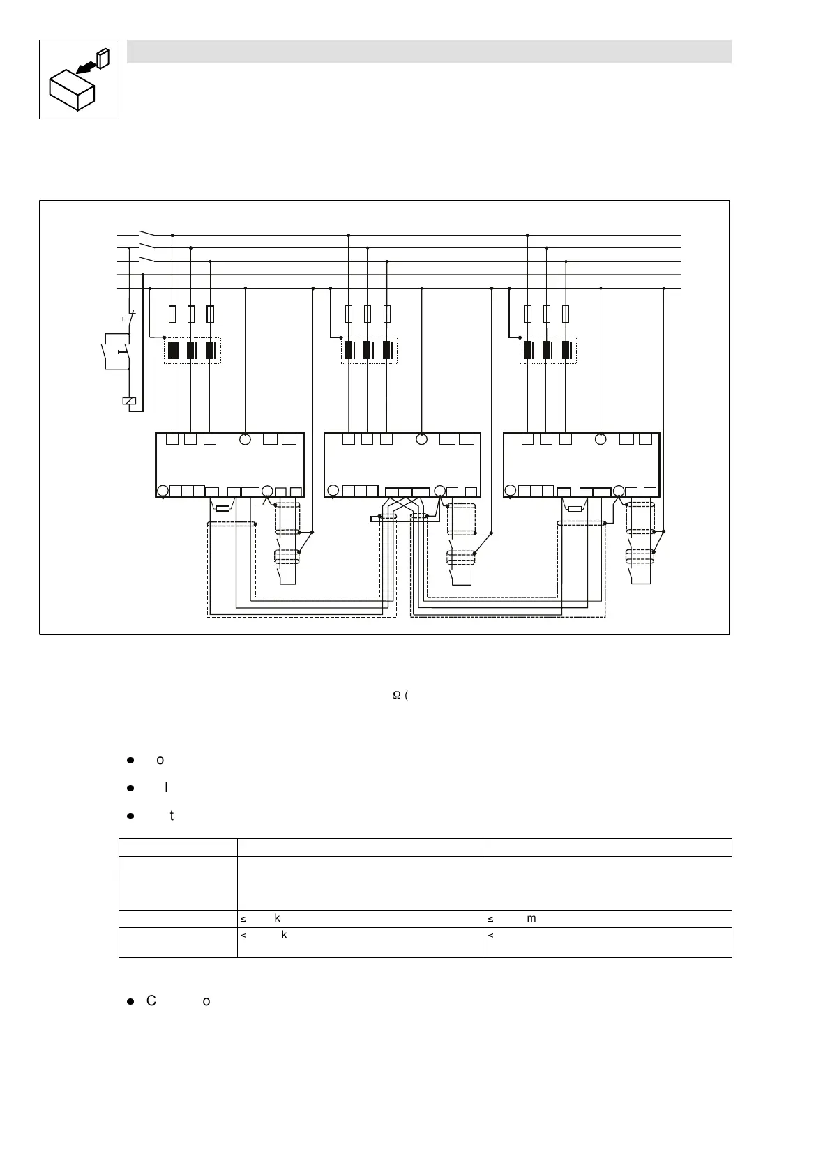
System bus connection (X4)
K1
K1
L3
N
PE
L1
L2
U
V
W
L1 L2
L3
F1
932X - 933X
PE
+UG -UG
PE
Z1
K1
U
V
W
L1 L2 L3
932X - 933X
PE
+UG -UG
PE
Z1
F1
ON
OFF
28
A4
PE
28
A4
K1
RFR
PE
U
V
W
L1 L2 L3
932X - 933X
PE
+UG
-UG
PE
Z1
F1
28
A4
PE
K1
RFR
K1
RFR
GND
HI
LO
GND
HI
LO
RA2
GND
HI LO
RA1
F2 F3 F2 F3 F2 F3
K35.0123
Fig. 4-13 Wiring of the system bus
RA1, RA2 Bus terminating resistors 120
W
(included in the accessory kit)
l
Connection via pluggable screw terminals (double terminals can be used).
l
Only connect terminals of the same designation.
l
Features of the signal cable:
Total cable length up to 300 m 300 m to 1000 m
Cable type LIYCY2x2x0.5mm
2
twisted pair with screening
Pair 1: CAN-LOW (LO) and CAN-HIGH (HI)
Pair 2: 2*GND
CYPIMF2x2x0.5mm
2
twisted pair with screening
Pair 1: CAN-LOW (LO) and CAN-HIGH (HI)
Pair 2: 2*GND
Cable resistance
40 /km
40 /km
Capacitance per unit
length
130 nF/km
60 nF/km
l
Connection of the bus termination resistors:
Connect one resistor 120 W to the first and one to the last bus participant.
On the 93XX controller the resistor can be screwed directly under the terminals X4/HI and
X4/LO.
Show/Hide Bookmarks

Table of Contents

Related product manuals