EasyManua.ls Logo

Linde H30D - Cleaning the Pressure Control Device at the Exchangeable Particulate Filter (Special Equipment)

Linde H30D
268 pages
Print Icon
To Next Page IconTo Next Page
To Next Page IconTo Next Page
To Previous Page IconTo Previous Page
To Previous Page IconTo Previous Page
Loading...
Maintenance 5
Engine
¾ Unscrew the sight glass (1) and wipe out
with a clean cloth.
If necessary, completely dismantle the water
trap and blow out with compressed air.
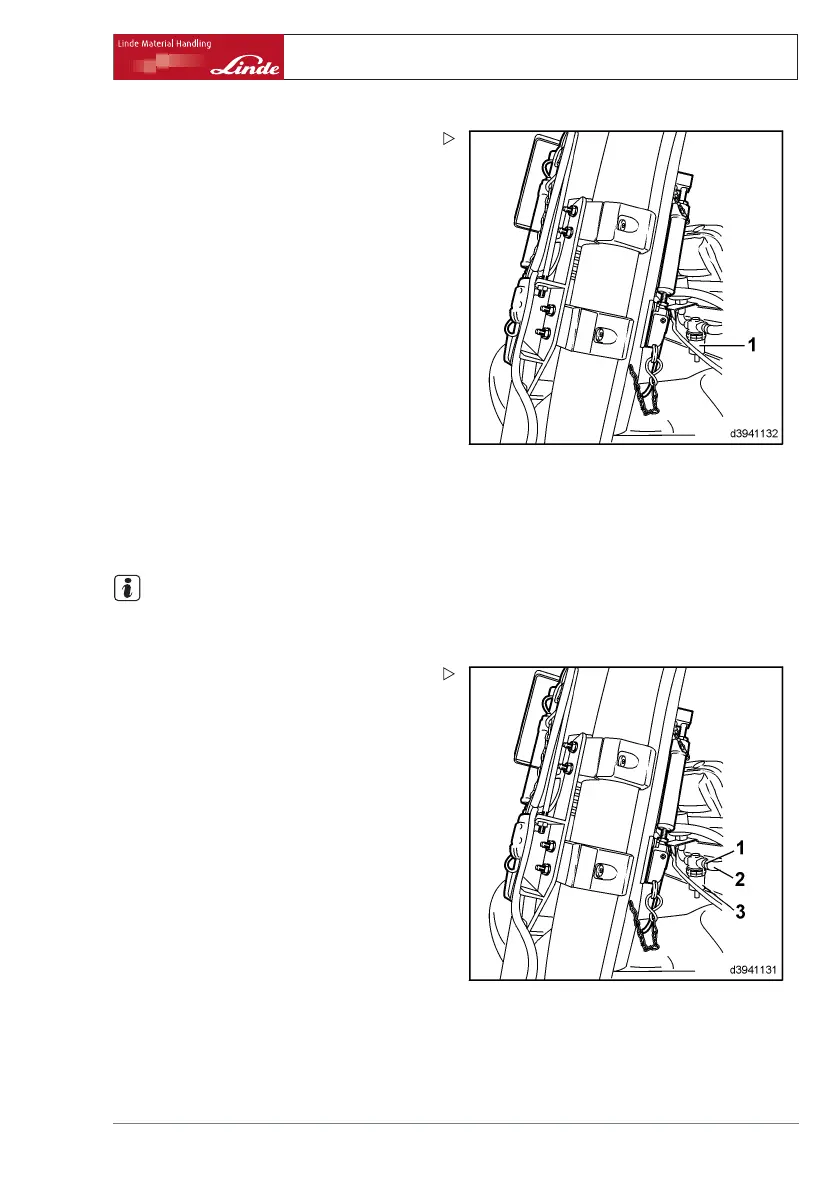
Cleaning the pressu
re control device
at the exchangeabl
e particulate filter
(special equipmen
t)
NOTE
Only for particul
ate filter with exchange filter
system.
¾ Removethehoseclip(1).
¾ Remove the hose (2) from the water trap
(3).
¾ Blow dry compresse
d air through the hose
and cooling coil to
wards the filter entrance
chamber.
¾ Reattach the hose and secure with the hose
clip.
Operating Instructions 393 807 1001 EN 08/2008 147

Table of Contents

Related product manuals