EasyManua.ls Logo

Linde H30D - Check the Parking Brake for Correct Operation

Linde H30D
268 pages
Print Icon
To Next Page IconTo Next Page
To Next Page IconTo Next Page
To Previous Page IconTo Previous Page
To Previous Page IconTo Previous Page
Loading...
5 Maintenance
Chassis frame
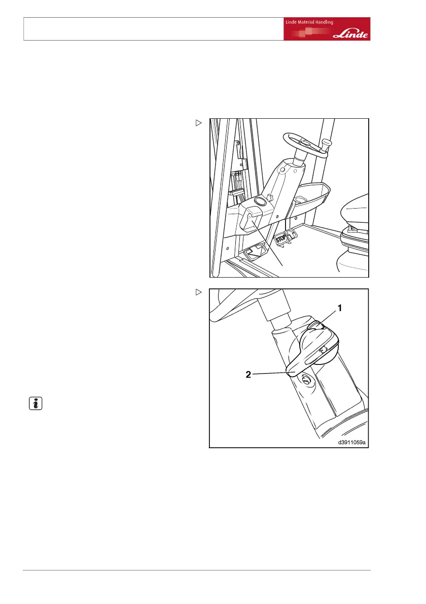
Check the parking brake for correct
operation
¾ Drive the fork lift truck, carrying its maximum
load, up a gradient of 15 %.
d3921457
1
¾ Pull the parking brake handle (1) upwards.
The vehicle must remain stati
onary.
¾ Switch off the engine.
Version 1:
¾ Release the parking brake handle
(1).
The vehicle must remain stationary.
Version 2:
¾ Place the parking brake lever (2) in a hori-
zontal position.
The vehicle must remain stationary.
¾ Switch off the engine.
¾ Press the button (1) and unlock the parking
brake lever (2).
¾ Move the parking brake 90° downwards.
The vehicle must remain stationary.
NOTE
If the parking brake fails this test, contact your
authorised dealer.
162 Operating Instructions 393 807 1001 EN 08/2008

Table of Contents

Related product manuals