EasyManua.ls Logo

Megger TTR310 - Figure 5-5. Setup for Testing Unmounted Current Transformer; Figure 5-6. Setup for Testing Taps on Multiple Tap CT

Megger TTR310
130 pages
Print Icon
To Next Page IconTo Next Page
To Next Page IconTo Next Page
To Previous Page IconTo Previous Page
To Previous Page IconTo Previous Page
Loading...
M
AVTMTTR310 Rev 8 May 2016
26
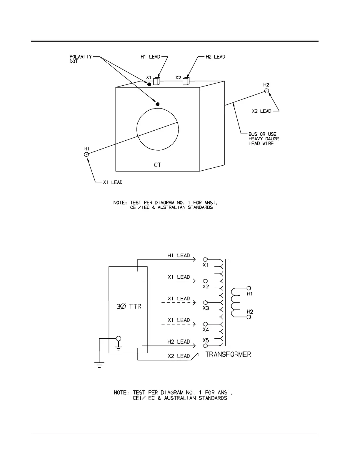
Figure 5-5. Setup for Testing Unmounted Current Transformer
Figure 5-6 shows the setup for testing the taps on a multiple-tap CT.
Figure 5-6. Setup for Testing Taps on Multiple Tap CT

Table of Contents

Related product manuals