EasyManua.ls Logo

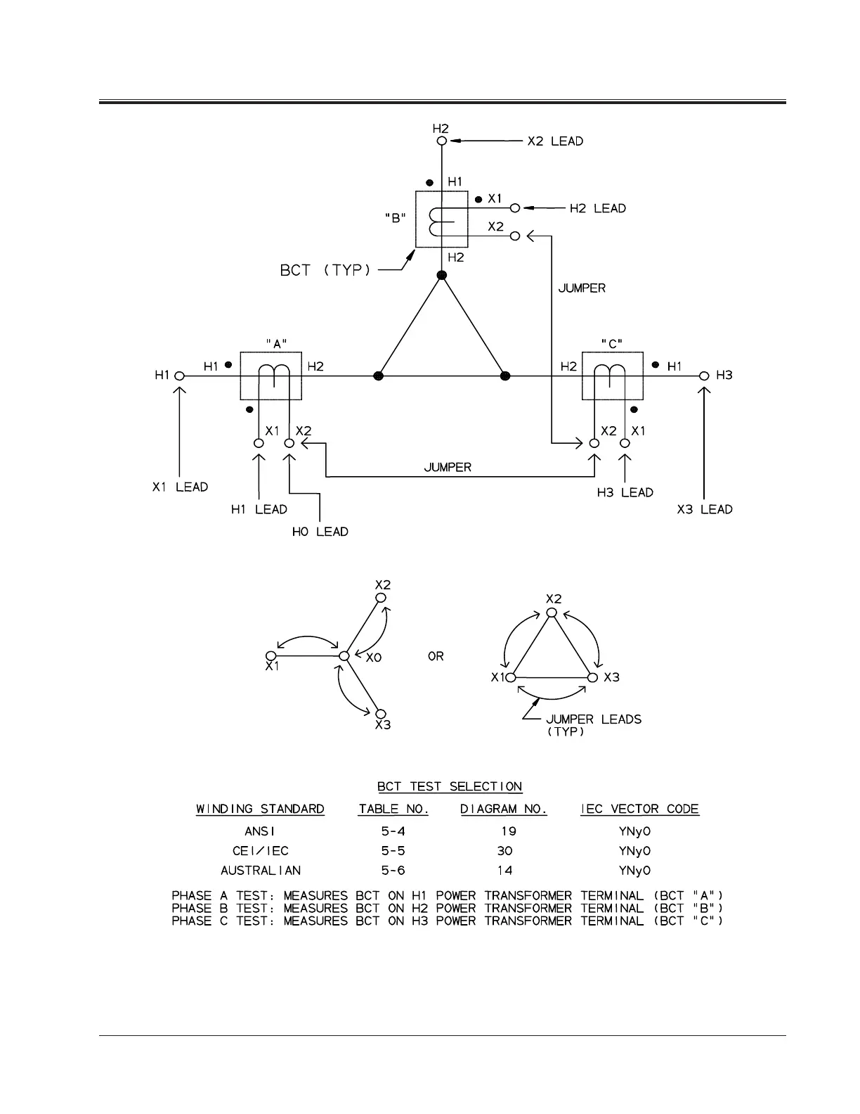
Megger TTR310 - Figure 5-8. Setup for Testing BCT Mounted on Delta Winding on a Three-Phase Power

Megger TTR310
130 pages
Print Icon
To Next Page IconTo Next Page
To Next Page IconTo Next Page
To Previous Page IconTo Previous Page
To Previous Page IconTo Previous Page
Loading...
SETUP AND CONNECTIONS
AVTMTTR310 Rev 8 May 2016
29
Figure 5-8. Setup for Testing BCT Mounted on Delta Winding on a Three-Phase Power Transformer

Table of Contents

Related product manuals