EasyManua.ls Logo

Nice WIL

Nice WIL
104 pages
To Next Page IconTo Next Page
To Next Page IconTo Next Page
To Previous Page IconTo Previous Page
To Previous Page IconTo Previous Page
Loading...
WIL
3
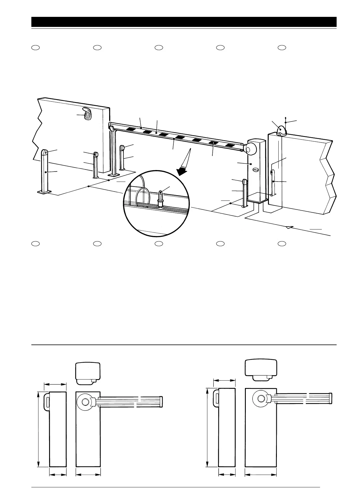
1) WIL
2) Colonnina per selettore a
chiave.
3) Selettore a chiave.
4) Tastiera digitale.
5) Colonnina per fotocellula.
6) Fotocellula.
7) Costa pneumatica o
gomma rossa.
8) Gomma protettiva rossa.
9) Asta in alluminio
10) Luci lampeggianti.
11) Striscie rosse catari-
frangenti.
12) Lampeggiatore.
13) Antenna.
1) WIL
2) Column for the key
selector
3) Key seloctor
4) Digital keypad
5) Column for the photocell
6) Photocell
7) Pneumatic edge or red
rubber
8) Protective red rubber
profile
9) Aluminium bar
10) Flashing lights
11) Red reflector strips
12) Flashing light
13) Antenna
1)WIL
2) Colonne pour sélecteur à clé
3) Sélecteur à clé
4) Tableau de commande digital
5) Colonne pour cellule
photoélectrique
6) Cellule photoélectrique
7) Barre palpeuse ou profil
caoutchouc rouge
8) Profil de protection en
caoutchouc rouge
9) Barre en aluminium
10) Lumières clignotantes
11) Bandes rouges
catadioptriques
12) Clignotant
13) Antenne
1) WIL
2) Säule für
Schiüsselwähischalter.
3) Schlüsselwähischalter.
4) Digitaltastatur.
5) Säule für Photozelle.
6) Photozelle.
7) Pneumatische
Sicherheitsleiste oder
roter Gummi.
8) Roter Schutzgummi.
9) Aluminiumstange.
10) Blinklichter.
11) Rote, rückstrahlende
Streifen.
12) Blinker
13) Antenne.
1) WIL
2) Columna para el selector
de llave
3) Selector de llave
4) Teclado digital
5) Columna para fotocélula
6) Fotocélula
7) Borde neumático y perfil
de caucho rojo
8) Perfil de caucho rojo de
protección
9) Barrera de aluminio
10) Luces intermitentes
11) Bandas rojas
retrorreflociantes
12) Luz intermitente
13) Antena.
DIMENSIONI D' INGOMBRO -
DIMENSIONS
- DIMENSIONS D'ENCOMBREMENT -
RAUMBEDARF
- DIMENSIONES
QUADRO D’INSIEME -
OVERALL PICTURE
- CADRE GÉNÉRAL -
ÜBERSICHTZEICHNUNG
- ESQUEMA DE CONJUNTO
GBI F D E
LIMITI DI IMPIEGO
Applicando all’asta tutti gli
accessori opzionali, limitar-
si ad una lunghezza max. di
mt. 5 per WIL 6 e di mt. 3,5
per WIL 4.
LIMITS OF USE
When installing all the
optional accessories on the
rod, envisage a max. rod
lenght of 5 m. for WIL 6 and
3,5 m for WIL 4.
LIMITES D’UTILISATION
En applicant à la lisse tous
les accessoires en option,
se limiter à une longueur
maximum de 5 m pour WIL
6 et de 3,5 m pour WIL 4.
EINSATZGRENZEN
Bei der Anbringung aller
Sonderzubehörteile an der
Stange muss man sich bei
WIL 6 auf eine Höchstlänge
von 5 m und bei WIL 4 auf
eine Höchstlänge von 3,5 m
beschränken.
LÍMITES DE EMPLEO
Si aplica a la barrera todos
los accesorios optionales,
la longitud máxima debe
ser de 5 m para WIL 6 y de
3,5 m para WIL 4.
GBI F D E
4
3
2
6
5
6
5
2 x 1
8
9
7
10
11
4 x 1
6
5
1
6
5
12
13
3 x 1,5
2 x 1,5 + RG 58
WIL 4
Max 4 m.
WIL 6
Max 6 m.
290
290
220
320
320
420
1000
1050
Fig. 2 Fig. 3

Table of Contents

Other manuals for Nice WIL

Related product manuals