EasyManua.ls Logo

OKIDATA MICROLINE 320 - Page 24

OKIDATA MICROLINE 320
145 pages
Print Icon
To Next Page IconTo Next Page
To Next Page IconTo Next Page
To Previous Page IconTo Previous Page
To Previous Page IconTo Previous Page
Loading...
2 – 16
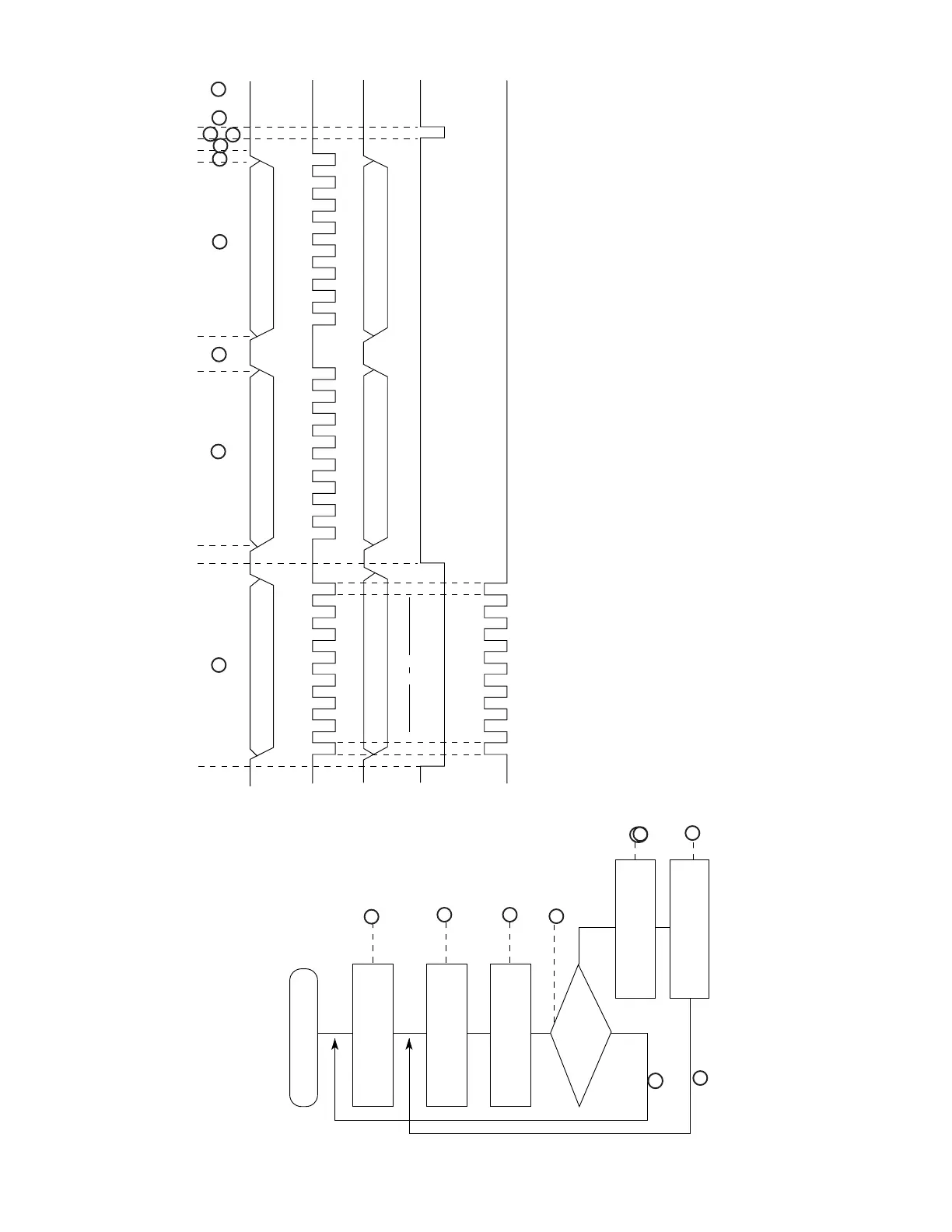
OPTXD
OPCLK
OPRXD
OPCLR-N
1232
31
6
7
5
or
8
bit0 bit7
Command (first)
Command (second)
Command response (first)
Command response (second)
Note
bit0 bit7
Reset
within
BU5148S
Power ON
Write instruction for LSI
reset
LSI write for LED data,
etc.
Read instruction for
data read
Response check
for OK or NG
Error notification
Instruction for
retransmission
1
2
3
4
7
8
5
6
NO
YES
Note: From the illustration above, you can see that the command and the command response are output at the same time. This is because
the bit 0 to bit 3 of the OPRXD signal are fixed so that the response can be returned before decoding the command.

Table of Contents

Other manuals for OKIDATA MICROLINE 320

Related product manuals