EasyManua.ls Logo

OKIDATA MICROLINE 320 - Adjustment

OKIDATA MICROLINE 320
145 pages
Print Icon
To Next Page IconTo Next Page
To Next Page IconTo Next Page
To Previous Page IconTo Previous Page
To Previous Page IconTo Previous Page
Loading...
3 – 19
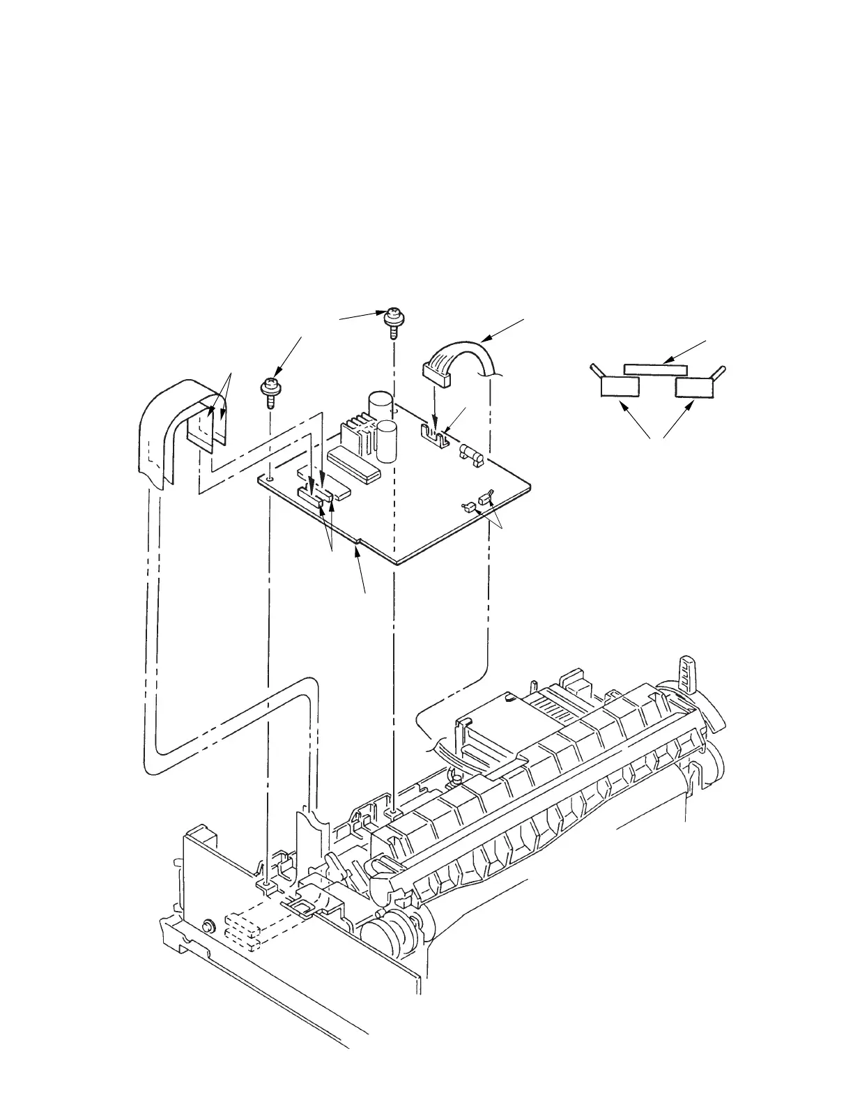
3.3.15 Control/Power Supply Board (SDCT)
(1) Remove the upper cover (see 3.3.4).
(2) Disconnect the two flexible cables 3 from connector 2 on the Control/Power Supply Board
1.
(3) Remove cable 5 from connector 4 on the control/power supply board 1.
(4) Remove the two screws 6, and remove the controlpower supply board 1.
(5) To install, follow the removal steps in reverse order.
Note on installation:
To install the control/power supply board, set the change lever to the top position so that
the switch lever 7 will not catch on the microswitches 8.
3
6
5
7
8
4
8
1
2

Table of Contents

Other manuals for OKIDATA MICROLINE 320

Related product manuals