EasyManua.ls Logo

Omron CS1W-CRM21 - Page 126

Omron CS1W-CRM21
223 pages
Print Icon
To Next Page IconTo Next Page
To Next Page IconTo Next Page
To Previous Page IconTo Previous Page
To Previous Page IconTo Previous Page
Loading...
104
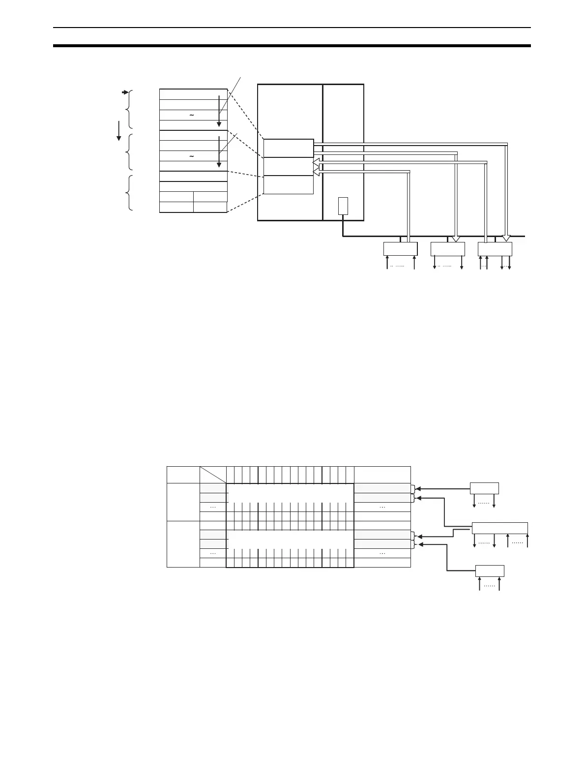
Exchanging Data with the CPU Unit Section 5-1
The Input Area is allocated to Input Slave Units, the Output Area is allo-
cated to Output Slave Units, and both the Input Area and the Output Area
are allocated to Mixed I/O Slave Units.
The 16 Slave Unit inputs for node address N are allocated in one word (bits
00 to 15) at node address N in the Input Area.
The 16 Slave Unit outputs for node address N are allocated in one word
(bits 00 to 15) at node address N in the Output Area.
The 16 Slave Unit inputs and 16 Slave Unit outputs for node address N are
allocated in one word (bits 00 to 15) plus one word (bits 00 to 15) at node
address N in the Input Area and node address N in the Output Area.
Allocation Example
For node requiring only 8 inputs or 8 outputs, the node is allocated the
rightmost byte of the respective word (bits 00 to 07). The leftmost byte
(bits 08 to 15) is not used.
If there are more than 16 Slave Unit inputs or outputs, both the node
address and the next node address (+1) are allocated.
If 16 Slave Unit inputs at node address N are expanded by 8 inputs to make
a total of 24 inputs, then Input Area node address N and node address N+1
are allocated.
CPU Unit
Inputs
Outputs
Inputs
Outputs
15
8
7
0
CIO 2000
CIO 2001
CIO 2007
CIO 2008
CIO 2009
CIO 2015
CIO 2016
CIO 2017
CIO 2018
CIO 2019
Example for Mode 0
Word address
First address
Output Area
Order:
Outputs,
then inputs
Input Area
Status Area
Node address 0
Node address 1
Status
Setting parameter
Node address 7
Node address 0
Node address 1
Node address 7
Output communi-
cations error
Input communi-
cations error
Node address order
I/O Memory (Special
I/O Unit Area in the
CIO Area)
Output Area
Input Area
Status Area
Node
address
order
CompoNet Master Unit
Mode 0
(Rotary switch)
Remote I/O communications
Outputs
Inputs
CompoNet Network
Output slave unit
participation
Input slave unit
participation
Input Slave
Unit
Output Slave
Unit
I/O Slave
Unit
Bit
Address
15 14 13 12 11 10 9 8 7 6 5 4 3 2 1 0
CIO 2000
Output
Area
Input
Area
Example for Mode 0
I/O Memory (Allocated in the Special I/O Unit Area in the CIO Area)
CIO 2001
CIO 2007
CIO 2008
CIO 2009
CIO 2010
CIO 2015
Node address 0 outputs 0 to 15 are allocated bits 0 to 15.
Node address 1 outputs 0 to 15 are allocated bits 0 to 15.
Node address 1 outputs 0 to 15 are allocated bits 0 to 15.
Node address 2 outputs 0 to 15 are allocated bits 0 to 15.
16 in
p
uts
16 input
s
16 outputs
16 outputs
Slave Unit
Slave Unit
Slave Unit
Node address 0
Node address 1
Node address 2
Input allocations
Input allocations
Output allocations
Output allocations
Node address
For node address 0
For node address 1
For node address 7
For node address 0
For node address 1
For node address 7
For node address 2
Output/
input

Table of Contents

Related product manuals