EasyManua.ls Logo

Panasonic KX-FP342CX - 7.3. Control Section

Panasonic KX-FP342CX
247 pages
Print Icon
To Next Page IconTo Next Page
To Next Page IconTo Next Page
To Previous Page IconTo Previous Page
To Previous Page IconTo Previous Page
Loading...
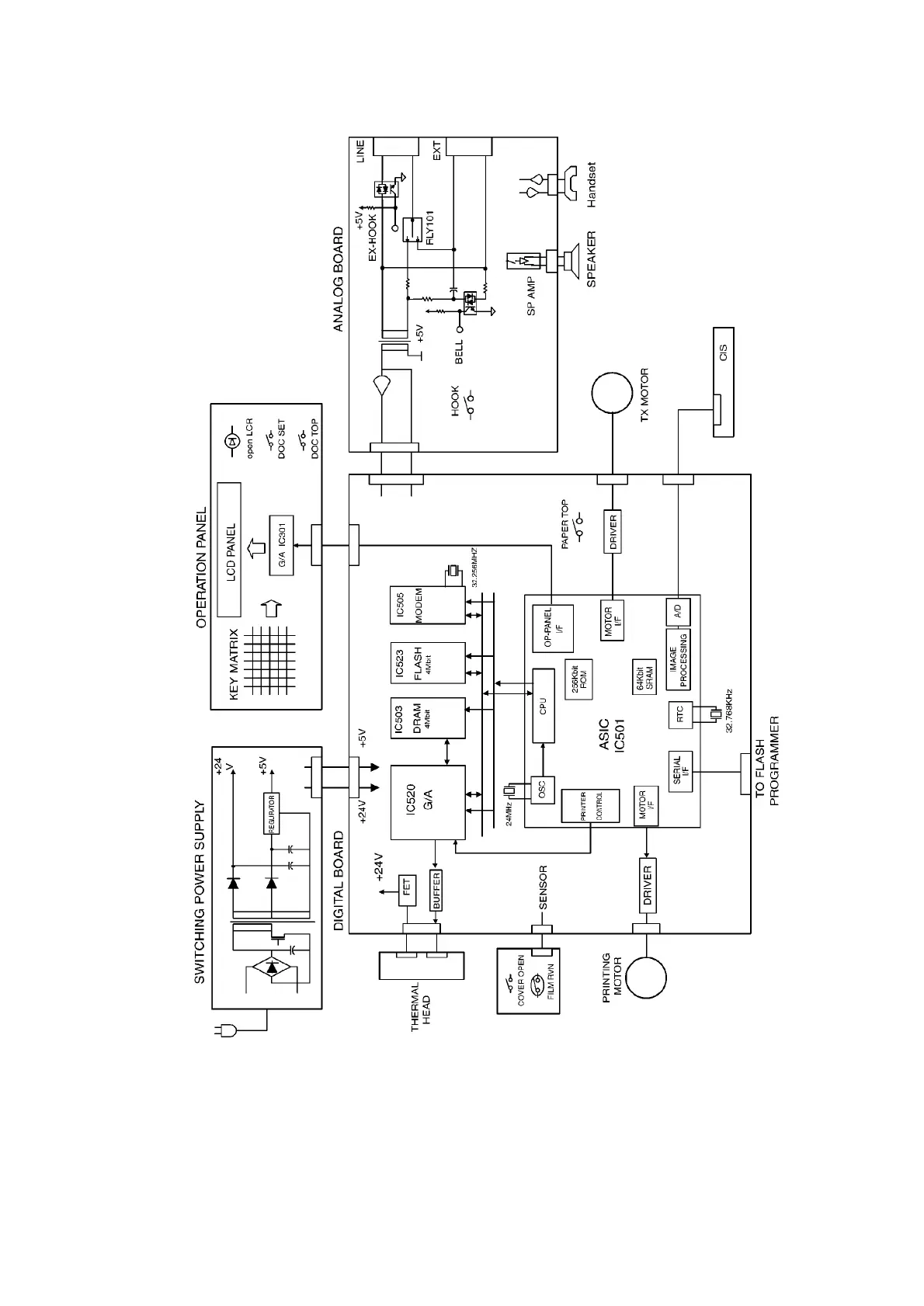
7.3. CONTROL SECTION
7.3.1. BLOCK DIAGRAM
7.3.2. MEMORY MAP
149

Table of Contents

Related product manuals