EasyManua.ls Logo

Panasonic KX-FP342CX - Bridge Modification Procedure; Test Chart

Panasonic KX-FP342CX
247 pages
Print Icon
To Next Page IconTo Next Page
To Next Page IconTo Next Page
To Previous Page IconTo Previous Page
To Previous Page IconTo Previous Page
Loading...
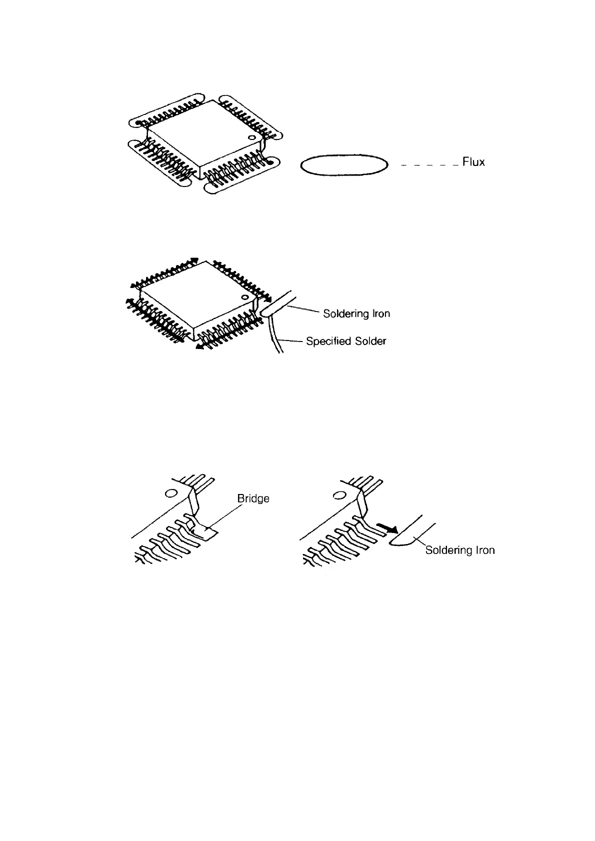
3. Solder the pins, sliding the soldering iron in the direction of the
arrow.
8.2.4. BRIDGE MODIFICATION PROCEDURE
1. Lightly resolder the bridged portion.
2. Remove the remaining solder along the pins using a soldering iron
as shown in the figure below.
8.3. TEST CHART
8.3.1. ITU-T No.1 TEST CHART
197

Table of Contents

Related product manuals