EasyManua.ls Logo

Pepperl+Fuchs VBG-ENXK20-DMD-EV - Quick Setup

Pepperl+Fuchs VBG-ENXK20-DMD-EV
114 pages
Print Icon
To Next Page IconTo Next Page
To Next Page IconTo Next Page
To Previous Page IconTo Previous Page
To Previous Page IconTo Previous Page
Loading...
26.9.2013
20
AS-i 3.0 EtherNet/IP+Modbus TCP Gateway
Installation
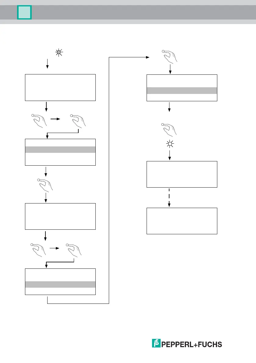
6.6 Quick setup
config error
LCD
.
CONFIGURATION OK
ETHERNET
QUICK SETUP
SETUP
IO + PARAM. TEST
WARNING:
OUTPUTS MAY BE
RESET
STORE AS-I
CONFIGURATION
STORE +RUN
STORE AS-I
CONFIGURATION
OK
LCD
1. 5
LCD
HOST ERROR
NO CONNECTION
STORE +PRJ MODE
STORE +PRJ MODE
2x ESC
LCD
1xOK
LCD
OK
OK
LCD
LCD
OK

Table of Contents

Related product manuals