EasyManua.ls Logo

PMC PH-2 - Pump-Line Assembly; Pump-Line Assembly (PL-9)

PMC PH-2
86 pages
Print Icon
To Next Page IconTo Next Page
To Next Page IconTo Next Page
To Previous Page IconTo Previous Page
To Previous Page IconTo Previous Page
Loading...
POLYURETHANE
MACHINERY
CORPORATION
PH-2 SERVICE MANUAL
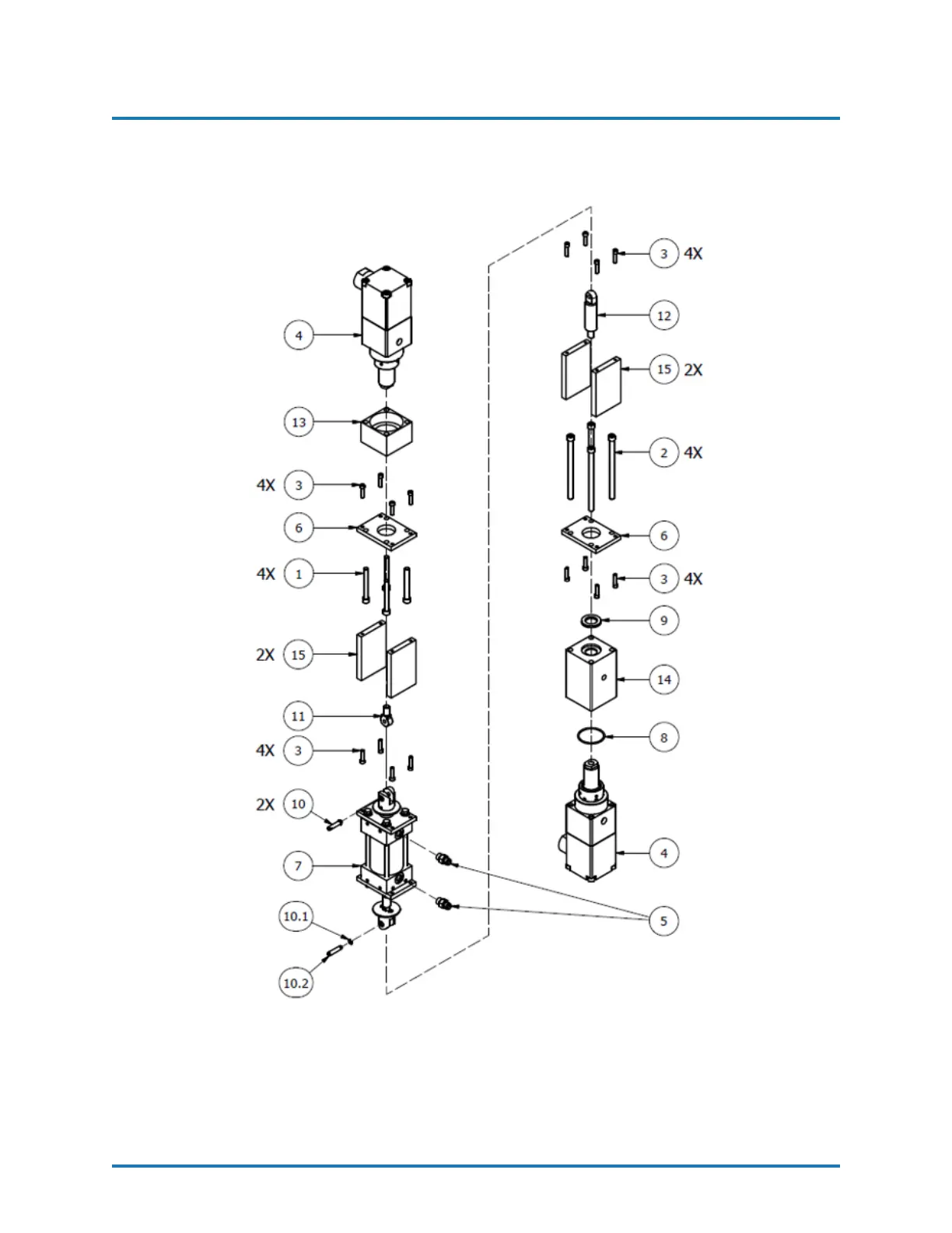
15. PARTS IDENTIFICATION
15.10 PUMP-LINE ASSEMBLY
Figure 22: Pump-Line Assembly (PL-9)
REVISION 1.2 66

Table of Contents

Other manuals for PMC PH-2

Related product manuals