EasyManua.ls Logo

Rittal Perforex BC - Page 11

Rittal Perforex BC
55 pages
Print Icon
To Next Page IconTo Next Page
To Next Page IconTo Next Page
To Previous Page IconTo Previous Page
To Previous Page IconTo Previous Page
Loading...
2 Safety instructions
Rittal Perforex BC machining centre 11
EN
The following safety equipment provides protection against injury and mate-
rial damage:
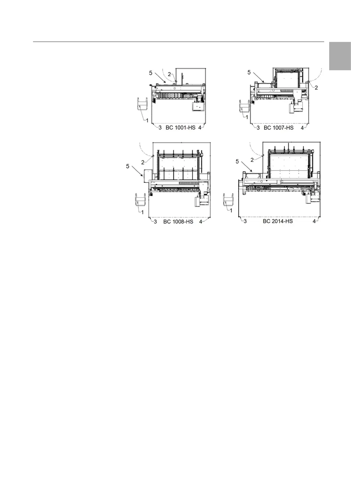
Fig. 2: Perforex BC safety equipment
Main switch
Actuating the black main switch located on the front door of the enclosure
(Fig. 2, item 5) switches the energy supply to your Perforex BC machining
centre on or off. All auxiliary equipment is supplied with the necessary oper-
ating voltage via the enclosure. Consequently, all auxiliary equipment is also
de-energised when the main switch is switched off.
EMERGENCY STOP switch
Actuating the red Emergency Stop switch installed on the operator console
interrupts the voltage supply for all outlets (Fig. 2, item 1). The PLC, PC and
the graphical user interface remain switched on.
Light array / light barrier
A light array / light barrier is provided to protect the work area during the ma-
chining operation. The transmitter (Fig. 2, item 3) and receiver (Fig. 2,
item 4) of the light array / light barrier are located on the side wings of the
safety fence that encloses the work area.
The voltage supply for all outlets is interrupted if this area is entered during
the machining operation. The PLC, PC and the graphical user interface re-
main switched on.
Door safety switch
A closed door protects the rear work area during the machining operation.
This door has a safety interlock (Fig. 2, item 2) that interrupts the voltage
supply for all outputs. The PLC, PC and the graphical user interface remain
switched on if this door is opened during a machining operation.
Warning signs on your Perforex BC machining centre
The following warning signs are placed on your Perforex BC machining cen-
tre:

Table of Contents

Related product manuals