EasyManua.ls Logo

Selco NEOMIG 2000 - Page 32

Default Icon
Print Icon
To Next Page IconTo Next Page
To Next Page IconTo Next Page
To Previous Page IconTo Previous Page
To Previous Page IconTo Previous Page
Loading...
3 PRÄSENTIERUNG DER SCHWEIßMASCHINE
3.1 Allgemeines
Die halbautomatischen Anlagen der Serie NEOMIG für das
MIG/MAG Dauerdrahtschweißen gewährleisten hohe Leistungen
und Schweißqualität mit Volldrähten und Seelenschweißdrähten.
Die Serie NEOMIG ist mit Drahtzugvorrichtung im Gehäuse ausge-
stattet, wodurch leicht zu verschiebende, "kompakte" Generatoren
mit geringen Abmessungen hergestellt werden konnten.
Die Generatoren NEOMIG werden jedem Bedarf des Schweißers
gerecht.
Die Statik des Generators ist mit Gleichspannung mit stufen-
weiser Einstellung der Schweißspannung; mit den verschiedenen,
wählbaren Induktanzausgängen kann der Operateur die für das
Schweißen optimale Generatordynamik einstellen.
Zur Verfügung stehen zwei verschiedene Versionen:
STANDARDVERSION:
die Drahtzufuhrgeschwindigkeit kann über Potentiometer direkt
am Schaltfeld eingestellt werden.
XP-VERSION:
diese Schweißgeneratoren besitzen den innovativen
Funktionsmodus "SYNERGIE".
Die Aktivierung der Synergie mit Eingabe des zu schweißenden
Materials und des benutzten Drahtdurchmessers ermöglicht die
automatische Einstellung der Drahtgeschwindigkeit und verein-
facht in der Tat die Regelungen beim Schweißen der Anlage.
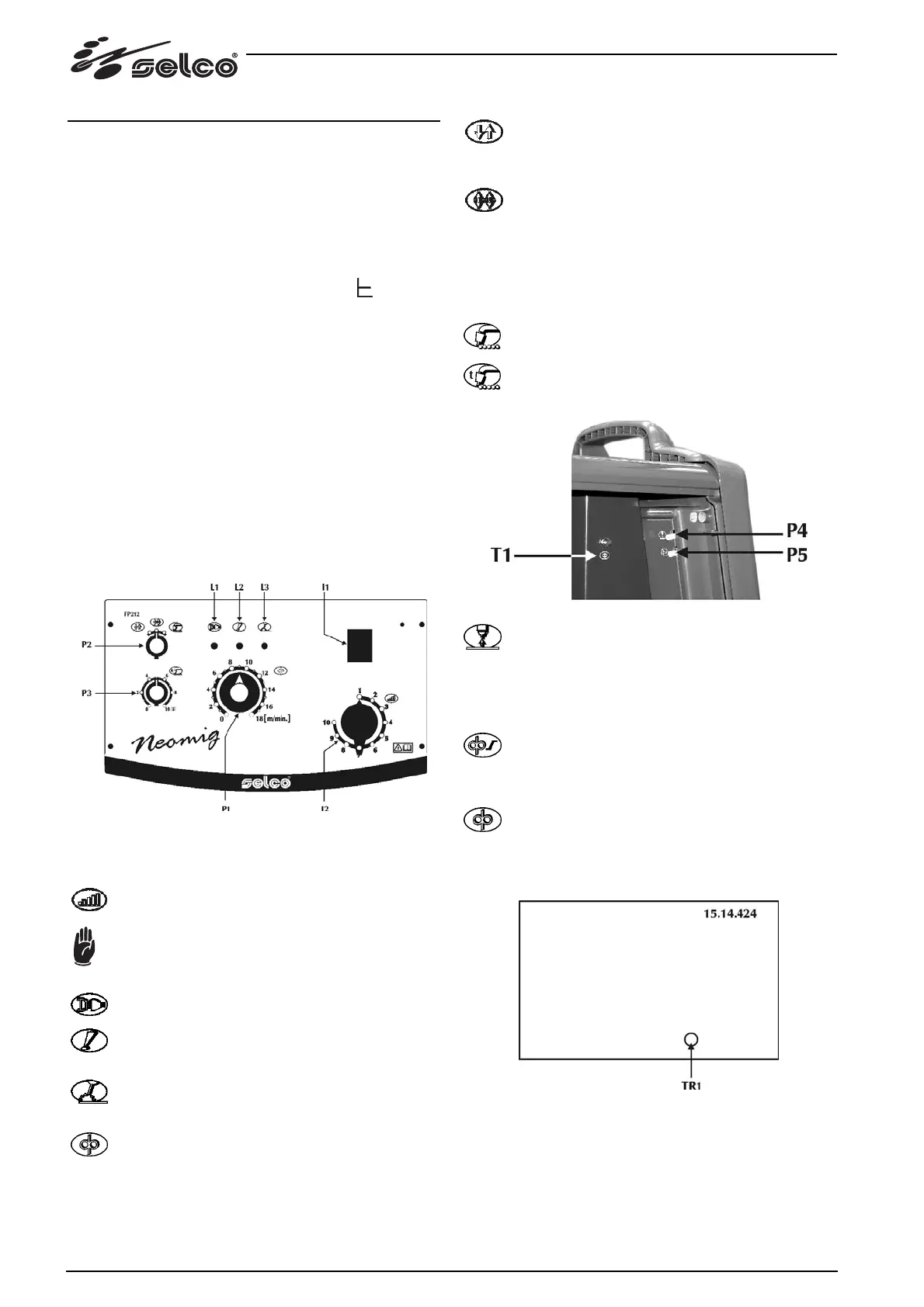
3.2 STANDARDSCHALTFELD
Abb.3 NEOMIG STANDARD
Schalter I1: hauptschalter zum Einschalten (Pos. 0 = Generator
ausgeschaltet).
Umschalter l2: umschalter für die Regelung bis zu
7/10 Stellen.
Den Umschalter nie betätigen, solange man
schweißt!
L1: leuchtet auf, sobald der Generator gespeist wird.
L2: gibt das eventuelle Ansprechen der
Schutzvorrichtungen an, wie zum Beispiel die
Auslösung des Wärmeschutzes.
L3: leuchtet auf, wenn Ausgangsspannung an der
Schweißmaschine vorhanden ist.
P1: potentiometer zur Einstellung der
Drahtgeschwindigkeit.
Min. 0 m/min, Max.18 m/min
P2: Schweißmodalität.
2-Taktig: in 2-taktig, bewirkt der Druck auf die Taste das
Fließen des Gases, die Aktivierung der Spannung auf den
Draht und seinen Vorschub; beim Loslassen werden
Gas, Spannung und Drahtvorschub abgeschaltet.
4-Taktig: in 4-taktig, bewirkt der erste Druck auf die
Taste das Fließen des Gases in einer manuellen
Vorgaszeit, beim Loslassen werden die Spannung auf
den Draht und sein Vorschub aktiviert. Durch den näch-
sten Druck auf die Taste blockiert sich der Draht und es
beginnt das Endverfahren, wobei der Strom auf Null
gebracht wird; durch das endgültige Loslassen der Taste
wird der Gaszufluss abgeschaltet.
Punktschweißen: ermöglicht die Durchführung von
Schweißungen mit Zeitgebung.
P3: Punktschweißzeit.
Ermöglicht die Einstellung der Schweißzeit.
Min. 0 Sek., Max. 10 Sek.
P4: burn back.
Für die Regelung der Drahtbrennzeit und zur
Verhinderung des Anklebens bei Schweißende.
Ermöglicht die Einstellung der Länge des Drahtteils außen am
Brenner.
Min. 0 Sek., Max. 0.5 Sek., Default 100 ms
P5: motorrampe.
Für die Einstellung eines allmählichen Übergangs von der
Drahtgeschwindigkeit bei Zündung auf jene bei Schweissung.
Min. 0 Sek., Max. 2 Sek., Default 250 ms
T1: Drahtvorschub.
Ermöglicht den manuellen Drahtvorschub ohne
Gasstrom und ohne unter Spannung stehendem Draht
ermöglicht das Einfügen des Drahts in den Brennermantel wäh-
rend der Vorbereitung zum Schweißen.
TR1: Nachgas.
Für die Einstellung und Regelung des Gasflusses bei Schweissende.
Min. 0 Sek., Max. 10 Sek., Default 0 Sek.
32

Table of Contents

Related product manuals