EasyManua.ls Logo

Selco NEOMIG 2000 - Page 33

Default Icon
Print Icon
To Next Page IconTo Next Page
To Next Page IconTo Next Page
To Previous Page IconTo Previous Page
To Previous Page IconTo Previous Page
Loading...
33
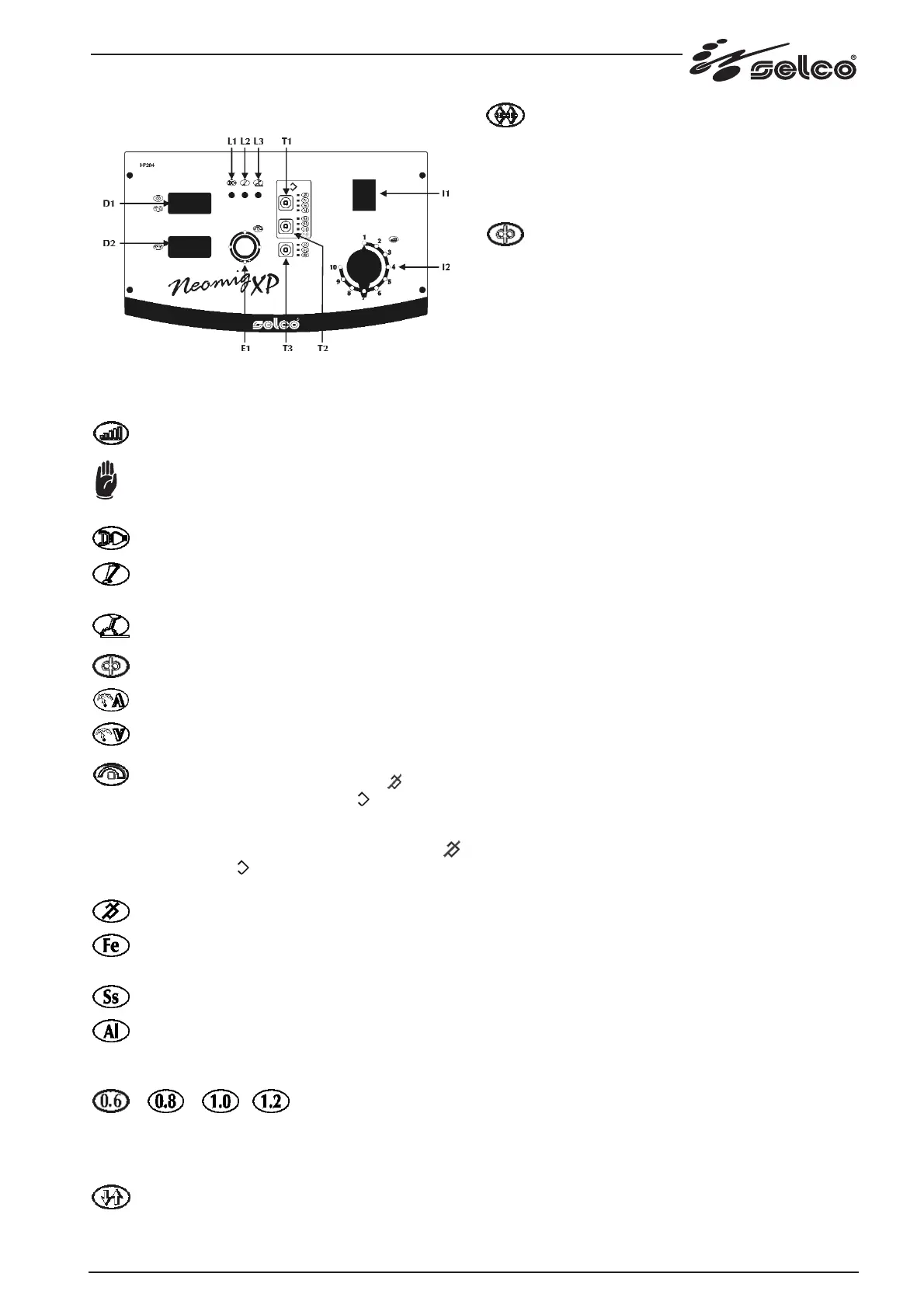
3.3 XPSCHALTFELD
Abb.4 NEOMIG XP
Schalter I1: hauptschalter zum Einschalten (Pos. 0 = Generator
ausgeschaltet).
Umschalter l2: umschalter für die Regelung bis zu 10
Stellen.
Den Umschalter nie betätigen, solange man
schweißt!
L1: leuchtet auf, sobald der Generator gespeist wird.
L2: gibt das eventuelle Ansprechen der
Schutzvorrichtungen an, wie zum Beispiel die
Auslösung des Wärmeschutzes.
L3: leuchtet auf, wenn Ausgangsspannung an der
Schweißmaschine vorhanden ist.
7-teiliges Display D1, D2: für die Ansicht der allge-
meinen Daten der Schweißmaschine beim Start, der
Einstellungen und der Strom- und Spannungswerte
beim Schweißen, sowie der Alarmcodes.
Taste/Encoder E1: für die Einstellung der
Drahtgeschwindigkeit in MIG manuell und die
Berichtigung der Synergie in MIG synergisch
Ermöglicht den Zugriff auf das Setup, die Auswahl und die
Einstellung der Parameter.
T1, Synergie: für die Auswahl des Prozesses MIG manuell
oder MIG synergisch und die Einstellung des zu
schweißenden Materials.
Prozess MIG manuell.
Prozess MIG synergisch, Schweißen von unlegiertem
Stahl.
Prozess MIG synergisch, Schweißen von Edelstahl.
Prozess MIG synergisch, Schweißen von Aluminium.
T2, Drahtdurchmesser: in synergisch, für die Auswahl des
benutzten Drahtdurchmessers.
Benutzter Drahtdurchmesser in mm
T3: dient zur Auswahl des 2- oder 4-taktigen Schweißens und
führt den Drahtvorschub aus, wenn das Abteil geöffnet wird.
2-Taktig: in 2-taktig, bewirkt der Druck auf die Taste
das Fließen des Gases, die Aktivierung der Spannung
auf den Draht und seinen Vorschub; beim Loslassen werden
Gas, Spannung und Drahtvorschub abgeschaltet.
4-Taktig: in 4-taktig, bewirkt der erste Druck auf die
Taste das Fließen des Gases in einer manuellen
Vorgaszeit, beim Loslassen werden die Spannung auf den Draht
und sein Vorschub aktiviert. Durch den nächsten Druck auf die
Taste blockiert sich der Draht und es beginnt das Endverfahren,
wobei der Strom auf Null gebracht wird; durch das endgültige
Loslassen der Taste wird der Gaszufluss abgeschaltet.
Drahtvorschub: ermöglicht den manuellen
Drahtvorschub; die Funktion ist mit geöffnetem
Spulenabteil aktiviert (nützlich, um während den
Vorbereitungen den Draht entlang des Brennermantels durch-
zuführen). Mit geöffnetem Abteil aktiviert die Brennertaste nur
den Gasfluss.
3.3.1 Setup
Für die Einstellung und Regelung einer Reihe Zusatzparameter,
um die Schweißanlage besser und präziser zu betreiben.
Die im Setup vorhandenen Parameter sind in Abhängigkeit vom
gewählten Schweißprozess organisiert und haben eine
Nummerncodierung.
Zugriff auf Setup: erfolgt, indem 3 Sek. lang auf Taste Encoder
gedrückt wird (die Null in der Mitte des 7-teiligen Displays
bestätigt den erfolgten Zugriff.
Auswahl und Einstellung des gewünschten Parameters:
erfolgt, indem der Encoder gedreht wird, bis der Nummerncode
jenes Parameters sichtbar wird. Durch den Druck auf Taste
Encoder kann nun der für den gewählten Parameter eingestell-
te Wert und dessen Regelung gesehen werden.
Ausgang aus Setup: Um die Sektion „Einstellungen" zu verlas-
sen, erneut auf Taste Encoder drücken.
Um das Setup zu verlassen, auf Parameter "O" (Speichern und
Beenden) gehen und auf Taste Encoder drücken.
Liste der Setup-Parameter
0 Speichern und beenden: für das Speichern der Änderun-
gen und den Ausgang aus dem Setup.
1 Reset: für die Rücksetzung aller Parameter auf die
Defaultwerte.
90 Reset XE (Modalität Easy)
Ermöglicht das manuelle MIG Schweißen mit Einstellung
der Motorrampe.
91 Reset XA (Modalität Advanced)
Ermöglicht das manuelle und das synergische MIG.
Beim synergischen "STANDARDBETRIEB" erfolgt eine auto-
matische Voreinstellung der idealen Schweißparameter je
nach gewählter Stufe!
Die Einstellungen bleiben in den verschiedenen
Schweißphasen unverändert.
Der synergische Wert kann je nach Bedarf des Schweißers
in Prozenten berichtigt werden.
92 Reset XP (Modalität Professional)
Ermöglicht das manuelle und das synergische MIG.
Beim synergischen "INTERAKTIVEN BETRIEB" erfolgt eine
automatische Voreinstellung der idealen Schweißparameter
je nach gewählter Stufe!
In den verschiedenen Schweißphasen bleibt die synergi-
sche Steuerung aktiviert. Die Schweißparameter werden
ständig überwacht und bei Bedarf gemäß einer genauen
Analyse der Merkmale des elektrischen Bogens berichtigt!
Der synergische Wert kann je nach Bedarf des Schweißers
in Prozenten berichtigt werden.
99 Reset: zur Rückstellung aller Parameter auf die Standardwerte
und der ganzen Anlage in die von Selco vorbestimmten
Konditionen.

Table of Contents

Related product manuals