EasyManua.ls Logo

Shinko DCL-33A - Electrical and Environmental Specifications; Insulation and Dielectric Strength; Power, Ambient, and Physical Specs; Included Accessories

Shinko DCL-33A
56 pages
Print Icon
To Next Page IconTo Next Page
To Next Page IconTo Next Page
To Previous Page IconTo Previous Page
To Previous Page IconTo Previous Page
Loading...
41
Insulation/Dielectric strength: Circuit insulation configuration
Insulation resistance: 10 M min. at 500 V DC
Dielectric strength: 1.5 kV AC for 1 minute
Power supply: 100 to 240 V AC 50/60 Hz, 24 V AC/DC 50/60 Hz
Allowable voltage fluctuation range: 100 to 240 V AC: 85 to 264 V AC, 24 V AC/DC: 20 to 28 V AC
Power consumption: 100 to 240 V AC: Approx. 5 VA max.
24 V AC: Approx. 4 VA max.
24 V DC: Approx. 4 W max.
Ambient temperature: 0 to 50 (32 to 122 )
Ambient humidity: 35 to 85%RH (non-condensing)
Weight: Approx.100 g
External dimension: 22.5 x 75 x 100 mm (W x H x D)
Material: Flame-resistant resin (Case)
Color: Light gray (Case)
Accessories included:
Instruction manual excerpt: 1 copy
When Heater burnout alarm output (W option) is ordered: Connector harness W 3m: 1 length
When Heater burnout alarm output (W option) is ordered:
For rated current 5A, 10A, 20A: CT (CTL-6S): 1 piece
For rated current 50A: CT (CTL-12-S36-10L1U): 1 piece
When Set value memory external selection (EI option) is ordered: Connector harness AOJ 3m: 1 length
When External setting input (EA option) is ordered: Connector harness AOJ 3m: 1 length
Accessories sold separately: 50 shunt resistor for direct current input
10.2 Optional Specifications
Heater burnout alarm output (W option)
Watches the heater current with CT (Current transformer), and detects the burnout.
This alarm is also activated when sensor is burnt out, or when indication is overscale or underscale.
Heater burnout alarm, Alarm and Loop break alarm utilize common output terminals.
This option cannot be used for direct current output type.
Rating: 5 A [W (5 A)], 10 A [W (10 A)], 20 A [W (20 A)], 50 A [W (50 A)] (Must be specified)
Setting range: 5 A [W (5 A)]: 0.0 to 5.0 A (OFF when set to 0.0)
10 A [W (10 A)]: 0.0 to 10.0 A (OFF when set to 0.0)
20 A [W (20 A)]: 0.0 to 20.0 A (OFF when set to 0.0)
50 A [W (50 A)]: 0.0 to 50.0 A (OFF when set to 0.0)
Setting accuracy: 5% of the heater rated current
Action point: Setting value
Action: ON/OFF action
Output: Open collector, Control capacity: 0.1 A 24 V DC
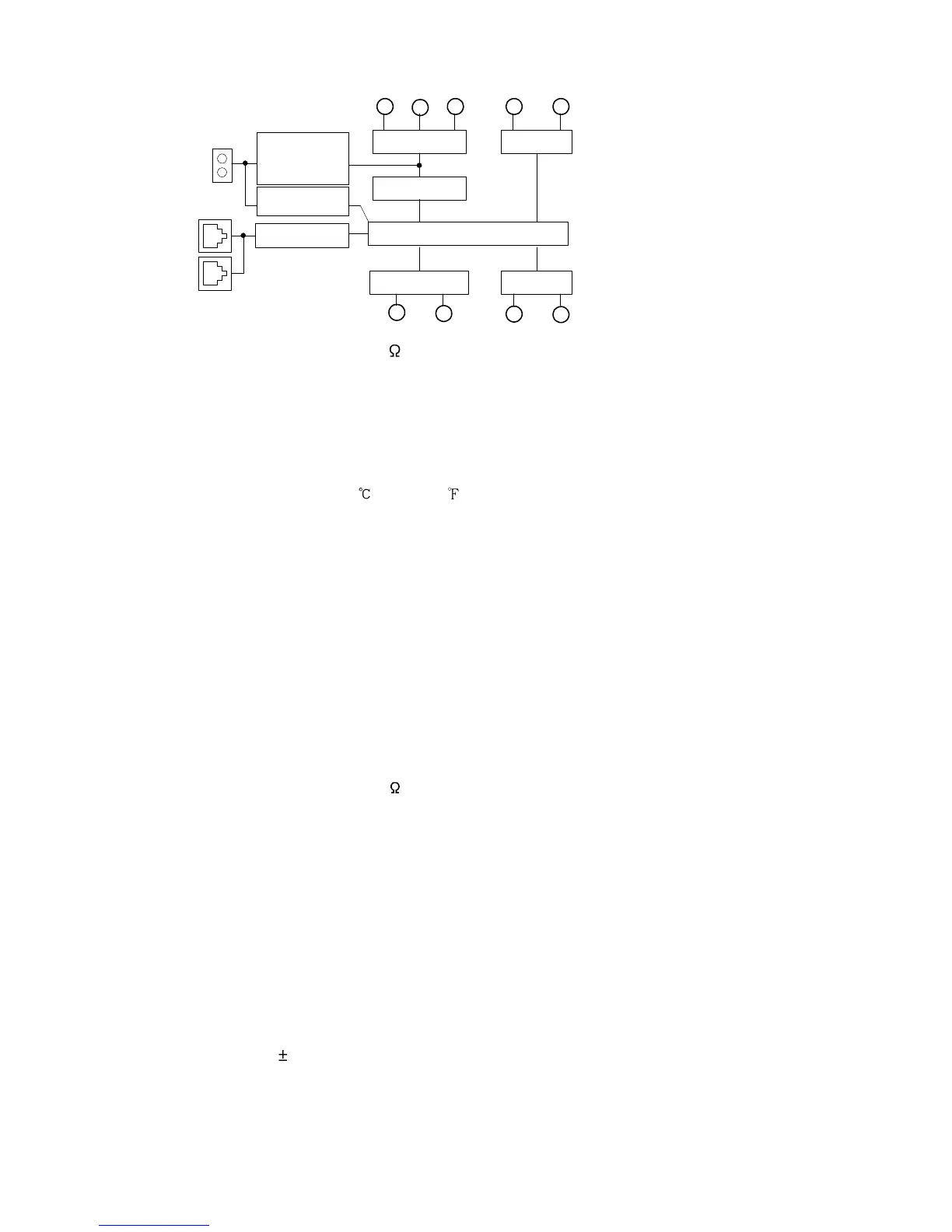
EVTInput
Electrically insulated
OUT
Power supply
CPU
CT input
or
Set value
memory
Communicatio
n
External
setting input
1 2
3
4
5
6
7 8 9

Other manuals for Shinko DCL-33A

Related product manuals