EasyManua.ls Logo

Siemens SIPROTEC 7SJ61 - Page 36

Siemens SIPROTEC 7SJ61
454 pages
Print Icon
To Next Page IconTo Next Page
To Next Page IconTo Next Page
To Previous Page IconTo Previous Page
To Previous Page IconTo Previous Page
Loading...
Functions
2.1 General
SIPROTEC, 7SJ61, Manual
C53000-G1140-C210-1, Release date 02.2008
36
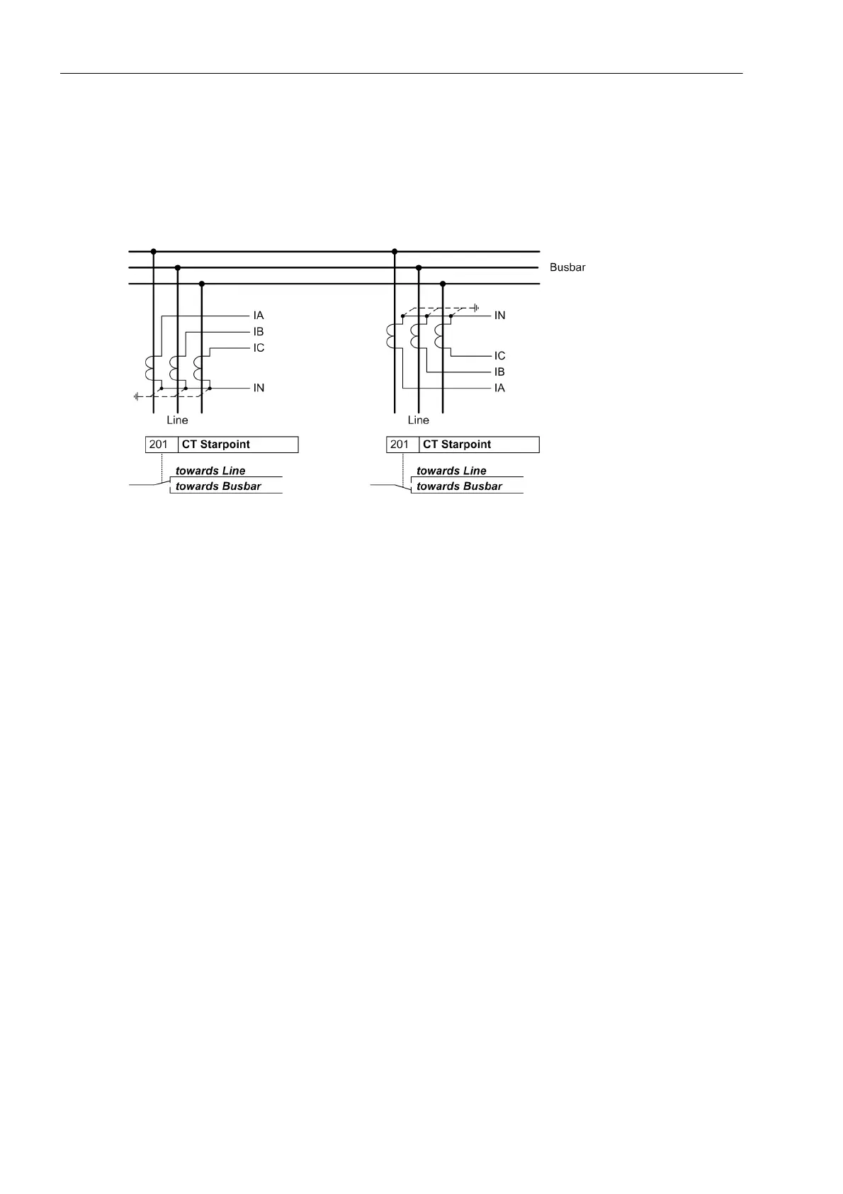
Polarity of Current Transformers (Power System)
At address 201 CT Starpoint, the polarity of the wye-connected current transformers is specified (the fol-
lowing figure applies accordingly to two current transformers). This setting determines the measuring direction
of the device (forward = line direction). Changing this parameter also results in a polarity reversal of the ground
current inputs I
N
or I
NS
.
Figure 2-2 Polarity of current transformers
Current ConnectionI4 (Power System)
Here, the device is informed whether the ground current of the current transformer starpoint is connected to the
fourth current input (I
4
). This corresponds with the Holmgreen-connection, (see connection example in Appen-
dix A.3, Figure A-9). In this case, parameter 280 Holmgr. for Σi is set to YES. In all other cases, even if
the ground current of the own line is measured via a separate ground current transformer, the setting NO has
to be made. This setting exclusively affects the function „Current Sum Monitoring“ (see Section 2.8.1).
Current Connection (Power System)
Via parameter 251 CT Connect. a special connection of the current transformers can be determined.
The standard connection is A, B, C, (Gnd). It may only be changed if the device is set to measure one or
more ground currents via two current inputs. The standard connection applies to all other cases.
The following diagram illustrates a special connection.

Table of Contents

Other manuals for Siemens SIPROTEC 7SJ61

Related product manuals