EasyManua.ls Logo

Siemens SISTORE MX

Siemens SISTORE MX
62 pages
To Next Page IconTo Next Page
To Next Page IconTo Next Page
To Previous Page IconTo Previous Page
To Previous Page IconTo Previous Page
Loading...
Description of SISTORE MX 3G / MX 3G DVD
23
Siemens Building Technologies
Fire Safety & Security Products 02.2009
EN
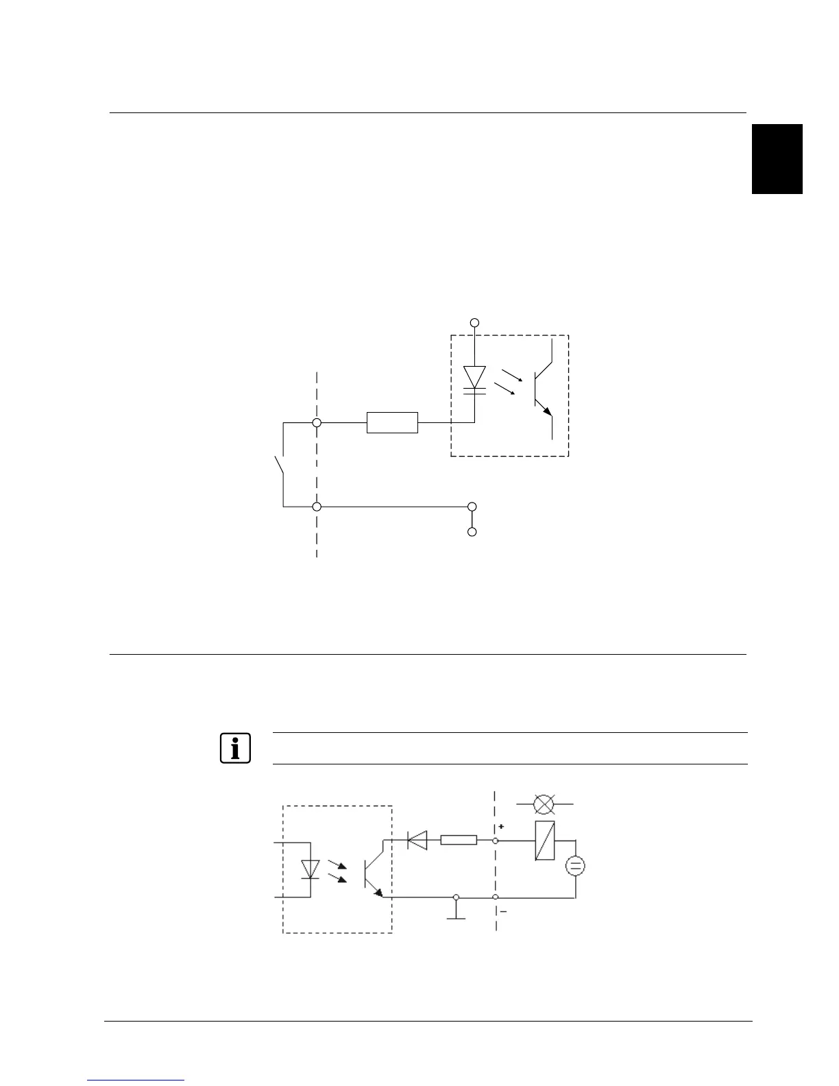
7.2.1 Trigger and digital inputs
The HVR is equipped with optocouplers that enable the connection of floating
contacts. The contacts will be triggered when the inputs are shorted.
The switching voltage of the switches is 5 V ±10 %, with a max. switching current
of 5 mA. The inputs are provided with suppression circuits to prevent damage to
the device when voltages up to 24 V are applied.
There are 16 trigger inputs and 4 digital inputs available. These trigger inputs are
edge triggered. The trigger edge which is to initiate a trigger event can be selected
with the software (SISTORE RemoteView and SISTORE MX).
Input circuitry of the optocoupler
+
_
R
V
1K2
Digital In
Optokoppler
UB
Fig. 8 Optocoupler – input circuitry (example of pin assignment)
The 4 digital inputs can be used to control external events.
7.2.2 Digital outputs
The outputs ground a connected consumer. All outputs can handle a maximum
current of 50 mA. Fusing of the outputs is implemented with reversible fuses. All
outputs are short circuit proof.
If inductive consumers are connected, we recommend using appropriate protective circuits.
U1
Optokoppler
D1
F1
50 mA
Digital Out
5 - 24 V
Fig. 9 Optocoupler – output circuitry (example of pin assignment)

Table of Contents

Other manuals for Siemens SISTORE MX

Related product manuals