EasyManua.ls Logo

Simrad GC80 Compact MK2 - Page 43

Simrad GC80 Compact MK2
121 pages
Print Icon
To Next Page IconTo Next Page
To Next Page IconTo Next Page
To Previous Page IconTo Previous Page
To Previous Page IconTo Previous Page
Loading...
OPERATION
43 988-12718-003
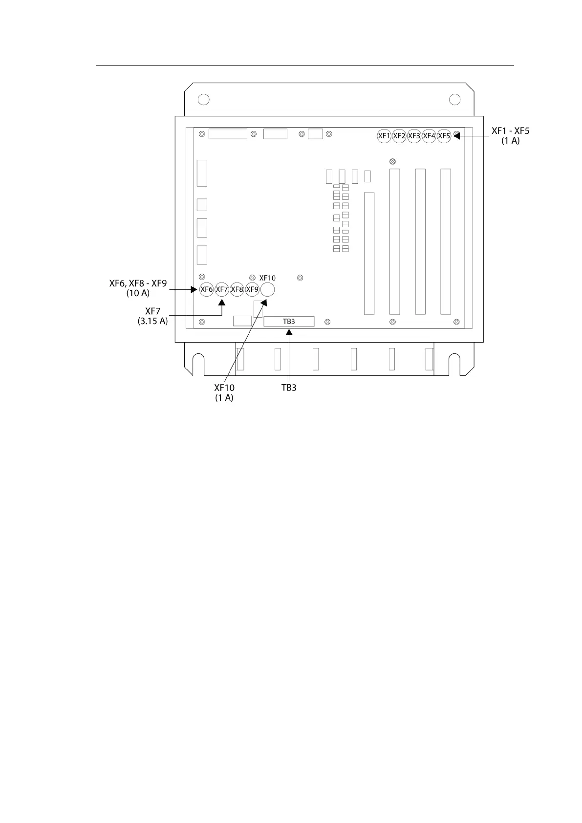
WARNING Make sure that power is disconnected from pin 1-8 on TB3
before any fuse is replaced!
Note!
The fuses in the Compact MK2 Control unit are open glass type and may be
damaged if handled with force.
1 Push down and rotate the fuse holder top CCW. Remove damaged
fuse.
2 Re-install new fuse in the fuse holder top. Install in fuse holder by
pushing down and rotating CW.

Table of Contents

Related product manuals