EasyManua.ls Logo

Sindoh M400 - FAX Components and Main Functions; Components and Basic Functions

Sindoh M400
181 pages
Print Icon
To Next Page IconTo Next Page
To Next Page IconTo Next Page
To Previous Page IconTo Previous Page
To Previous Page IconTo Previous Page
Loading...
FAX Components and Main Functions
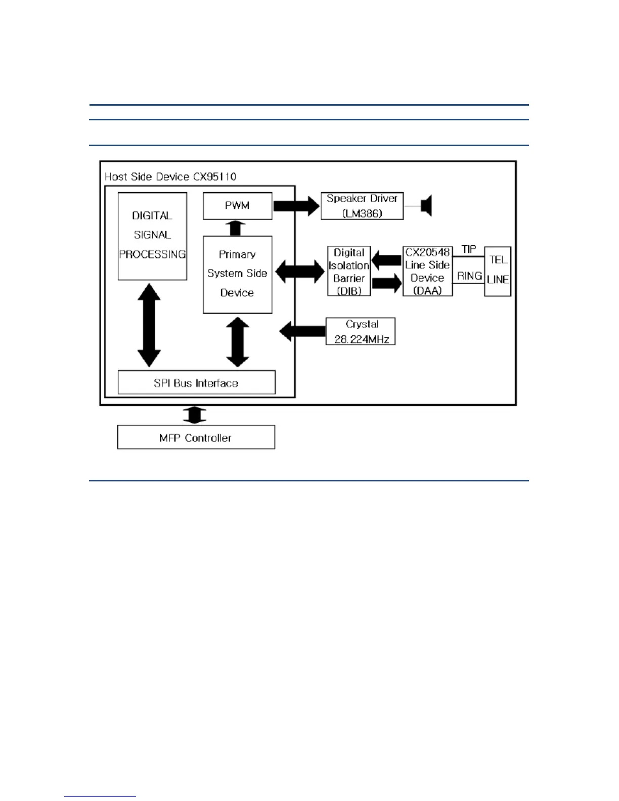
Structure’s Block Diagram
Components and Basic Functions
FAX card (SSF336) is composed as above figure’s structure.
FAX card connectable lines are PSTN(Public Switched Telephone Network), PABX (Private Automatic
Branch Exchange).
Main functions are as the followings.
Main Functions of HSD (CX95110)
Modem speed is maximum of 33600bps as priority and when limiting it, speed is lowered
automatically to set to suitable speed.
SPI communication is performed to communicate with controller.
Digital signal converted from DAA is sent to HSD via DIB and HSD handles digital signals and sent
to MFP controller via SPI communication to proceed with imaging.
PWM (Pulse Width Modulation) signal is sent to activate Speaker Driver.
Main Functions of LSD (DAA CX20548)

Table of Contents

Related product manuals