EasyManua.ls Logo

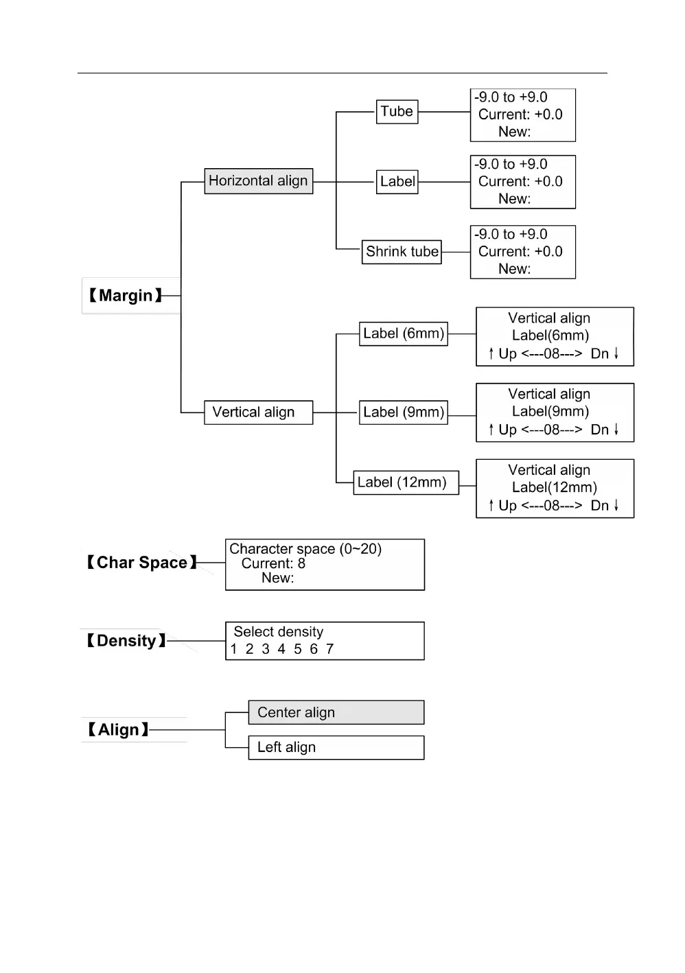
Supvan TP76E - Margin and Character Spacing

Supvan TP76E
58 pages
Print Icon
To Next Page IconTo Next Page
To Next Page IconTo Next Page
To Previous Page IconTo Previous Page
To Previous Page IconTo Previous Page
Loading...
SUPVAN Chapter 2 Function Keys
10

Related product manuals