EasyManua.ls Logo

Supvan TP76E - Character Space Function

Supvan TP76E
58 pages
Print Icon
To Next Page IconTo Next Page
To Next Page IconTo Next Page
To Previous Page IconTo Previous Page
To Previous Page IconTo Previous Page
Loading...
SUPVAN Chapter 5 Operation of Function Key
30
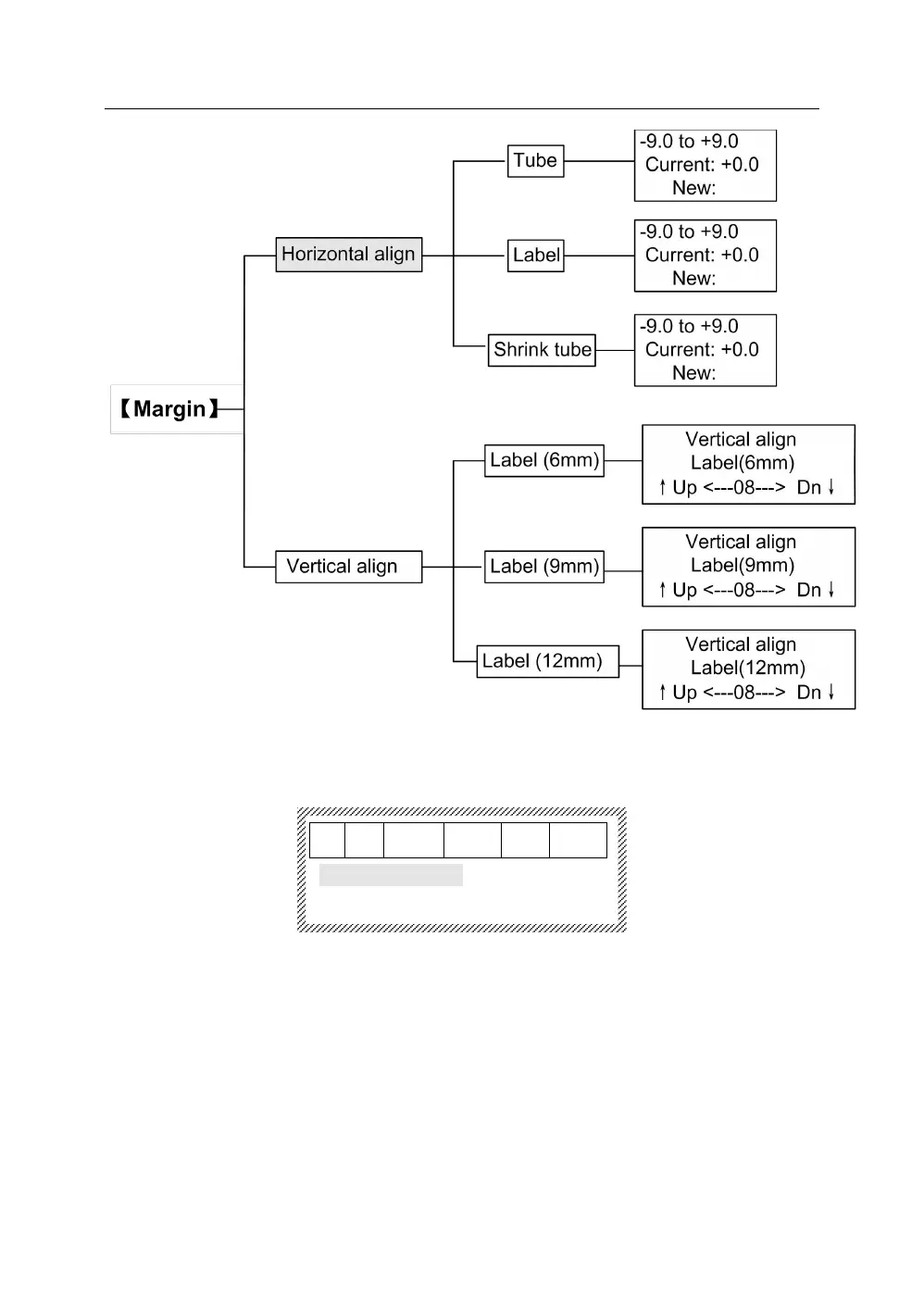
PressMargin, it will display as below:
20
4
Y
N
1
4
Horizontal align
Vertical align
Pressor.After selecting, pressEnter, the segment that the cursor
is located and all segments followed by will be set as the print direction that you
select, and the interface will return automatically to the file input state.
5.8 Char Space
The setting is effect for all print contents.
This function is to set the distance between characters.

Related product manuals